EasyManua.ls Logo

IBM 7090 - Page 67

IBM 7090
190 pages
Print Icon
To Next Page IconTo Next Page
To Next Page IconTo Next Page
To Previous Page IconTo Previous Page
To Previous Page IconTo Previous Page
Loading...
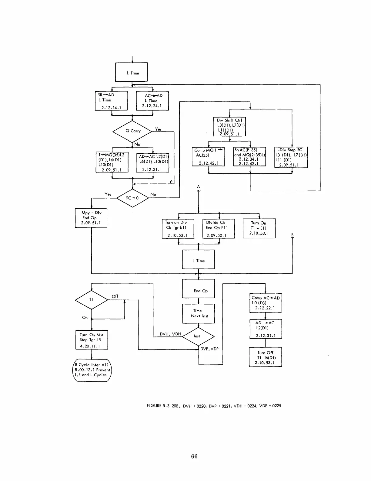
SR-AD
L
Time
2.12.14.1
1
L
Time
AC~D
L
Time
2.12.24.1
, L
·~Ye,
~
I
1--MQ(35)L2
(D1),L6(D1)
L10(Dl)
2.09.51.1
1
T
AD-AC
L2(D1
L6(D1),
L 10(D1)
2.12.31.1
1
r
Ye,
~>-N_O
___
---J
Mpy - Div
End
Op
2.09.51.1
T1
On
Off
Turn
on
Div
Ck
Tgr
Ell
2.10.53.1
l
Div
Shift
Or!
L3(D1), L7(D1)
L11(Dl)
2.09.51.1
Comp
MQ1--
AC(35)
2.12.42.1
A
,,,
L
Time
1
1
Divide
Ck
EndOpEl1
2.09.50.1
J
End
Op
Sh
AC(P-35)
and
MQ(2-35)Lt
2.12.34.1
2.12.42.1
Turn
On
T1
-
Ell
2.10.53.1
-Div Step
SC
L3
(Dl),
L7(Dl)
L11
(Dl)
2.09.51.1
B
I
Time
Next
Inst
Comp
AC--AD
10
(D3)
2.12.22.1
Turn
On Mst
Stop
Tgr
15
4.20.11.1
DVH,
VDH~
~--------""""iDVP/VDP
AD-AC
12(Dl)
2.12.31.1
Turn
Off
T1
16(Dl)
2.10.53.1
B Cycle Inter
All
8.00.13.1
Prevent
I,E and L Cycles
FIGURE
5.3-20B.
DVH
+ 0220;
DVP
+ 0221;
VDH
+ 0224;
VDP
+ 0225
66

Table of Contents