EasyManua.ls Logo

Icom ic-2730A - Adjustment Procedure; Jig Cable; Preparation; Required Equipment

Icom ic-2730A
55 pages
Print Icon
To Next Page IconTo Next Page
To Next Page IconTo Next Page
To Previous Page IconTo Previous Page
To Previous Page IconTo Previous Page
Loading...
5-1
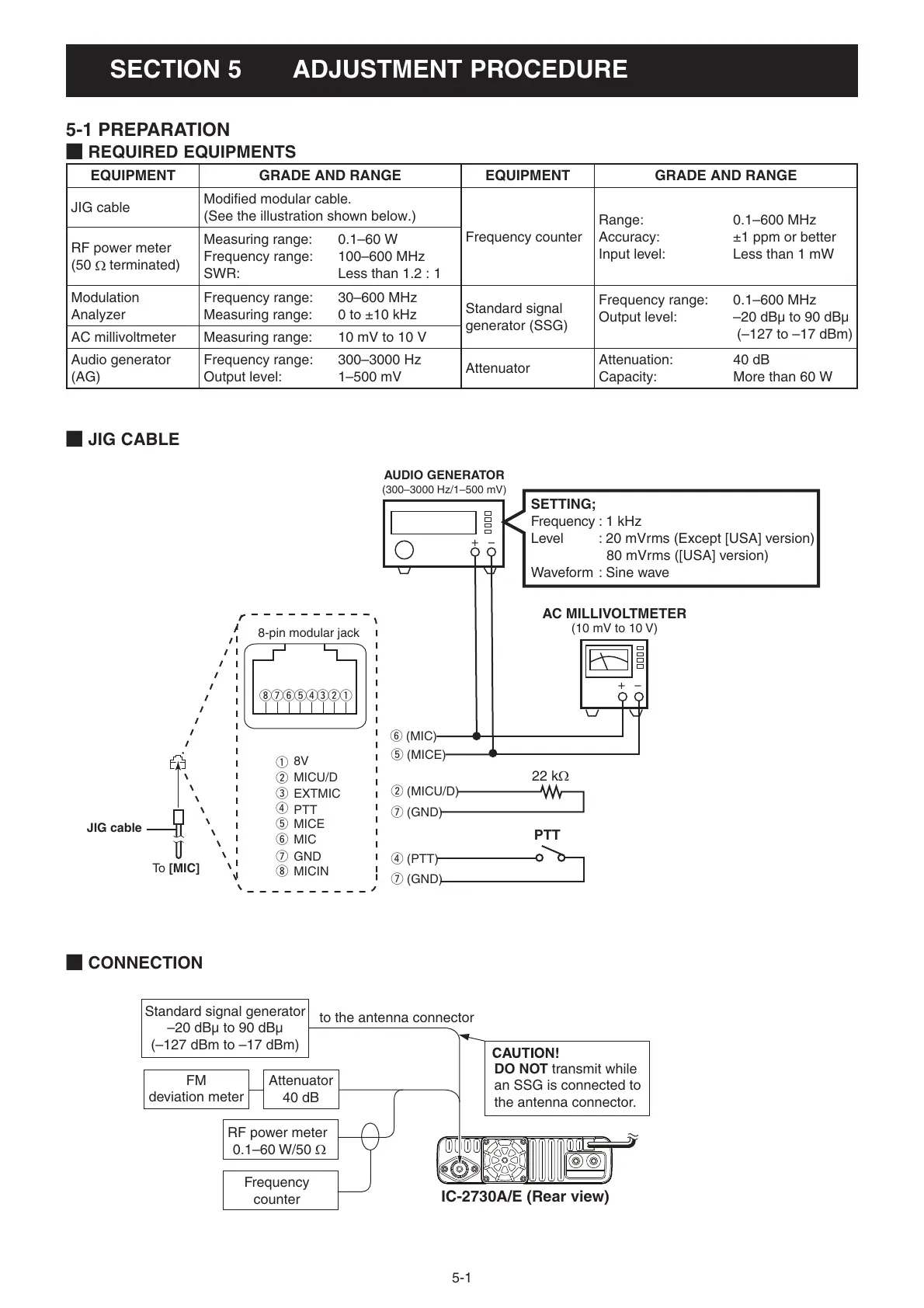
SECTION 5. ADJUSTMENT PROCEDURE
M CONNECTION
M JIG CABLE
M REQUIRED EQUIPMENTS
EQUIPMENT GRADE AND RANGE EQUIPMENT GRADE AND RANGE
JIG cable
Modifi ed modular cable.
(See the illustration shown below.)
Frequency counter
Range: 0.1–600 MHz
Accuracy: ±1 ppm or better
Input level: Less than 1 mW
RF power meter
(50

terminated)
Measuring range: 0.1–60 W
Frequency range: 100–600 MHz
SWR: Less than 1.2 : 1
Modulation
Analyzer
Frequency range: 30–600 MHz
Measuring range: 0 to ±10 kHz
Standard signal
generator (SSG)
Frequency range: 0.1–600 MHz
Output level: –20 dBµ to 90 dBµ
(–127 to –17 dBm)
AC millivoltmeter Measuring range: 10 mV to 10 V
Audio generator
(AG)
Frequency range: 300–3000 Hz
Output level: 1–500 mV
Attenuator
Attenuation: 40 dB
Capacity: More than 60 W
5-1 PREPARATION
8-pin modular jack
q
i
u
ytre
w
q
w
e
r
t
y
u
i
8V
MICU/D
EXTMIC
PTT
MICE
MIC
GND
MICIN
y (MIC)
w (MICU/D)
u (GND)
r (PTT)
u (GND)
t (MICE)
AUDIO GENERATOR
(300–3000 Hz/1–500 mV)
+−
22 k
+−
AC MILLIVOLTMETER
(10 mV to 10 V)
PTT
JIG cable
To [MIC]
SETTING;
Frequency : 1 kHz
Level : 20 mVrms (Except [USA] version)
80 mVrms ([USA] version)
Waveform : Sine wave
IC-2730A/E (Rear view)
FM
deviation meter
to the antenna connector
Attenuator
40 dB
RF power meter
0.1–60 W/50
Frequency
counter
Standard signal generator
–20 dBµ to 90 dBµ
(–127 dBm to –17 dBm)
DO NOT transmit while
an SSG is connected to
the antenna connector.

Other manuals for Icom ic-2730A

Related product manuals