EasyManua.ls Logo

ircon Modline 5 - Page 30

ircon Modline 5
156 pages
Print Icon
To Next Page IconTo Next Page
To Next Page IconTo Next Page
To Previous Page IconTo Previous Page
To Previous Page IconTo Previous Page
Loading...
Sensor Installation
28
Rev. L6 Feb 2017 Modline 5
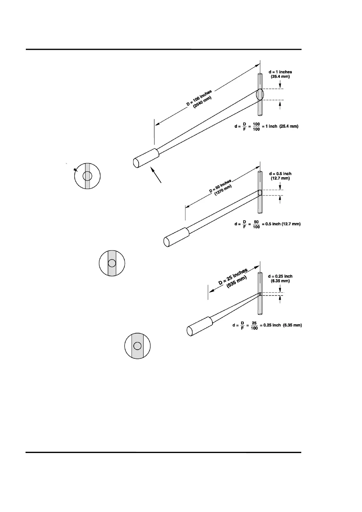
Figure 12: Distance and Spot Size Illustration
In top example A, the rod is 100 in. (2540 mm) away. The spot is 1 inch (25.4 mm) in diameter. The one
half inch diameter rod does not fill the reticle in the viewing sight. Middle example B illustrates a
viewing distance of 50 inch (1270 mm). The spot is 0.5 inch (12.7 mm) in diameter, the same size as the
rod. Bottom example C illustrates a viewing distance of 25 inch (635 mm). The spot size is 0.25 inch (6.35
mm) one half the one half inch target size. The view in the eyepiece shows the target completely resolved
by the reticle.
Resolution Factor F = 100
A: Target smaller than Spot Size.
Sensor measures part target and part
background
Move closer and Refocus!
B: Target equal to Spot Size.
Any shift of target or sensor will
cause sensor to view part target
and part background.
Move closer and Refocus!
C: Target twice Spot Size.
Excellent!
Target is safely resolved.
Recticle
Sensor

Table of Contents

Other manuals for ircon Modline 5

Related product manuals