EasyManua.ls Logo

Jensen A540 - Page 139

Jensen A540
150 pages
Print Icon
To Next Page IconTo Next Page
To Next Page IconTo Next Page
To Previous Page IconTo Previous Page
To Previous Page IconTo Previous Page
Loading...
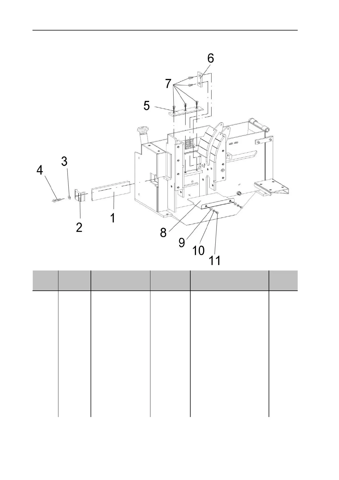
Pos. Nr.:
Bestell Nr.:
Bezeichnung
Designation
Designation
Anzahl
Fig. Nr.:
Order Nr.:
pcs.
Fig. Nr.:
Ordre Nr.:
pcs.
1 9416 Gegenmesser counter knife contre couteau 1
2 9162 Spannpratze fixing device griffe d'arret 1
3 22022 Scheibe washer rondelle 1
4 5158 Sechskantschraube hexagon screw vis hexagonale 1
5 65009 Mundstückeinlage inlay Bout de debit horicontal 1
6 9320 Senkr. Schneidkante
Vertical counter knife
Bout de debit vertical 1
7 1817 Inbusschraube cylinder screw vis à téte cylindrique 5
8 66020 Späneklappe chips flap tirior à copeaux 1
9 22042 Unterlegscheibe washer rondelle 2
10 2175 Federring spring ring rondelle élastique 2
11 16221 Sechskantschraube hexagon screw vis à six-pans creux 2
Gegenmesser
Counter knife
Contre couteau

Related product manuals