EasyManua.ls Logo

JRC JLR-21 - CCRP Settings

JRC JLR-21
164 pages
Print Icon
To Next Page IconTo Next Page
To Next Page IconTo Next Page
To Previous Page IconTo Previous Page
To Previous Page IconTo Previous Page
Loading...
5-47
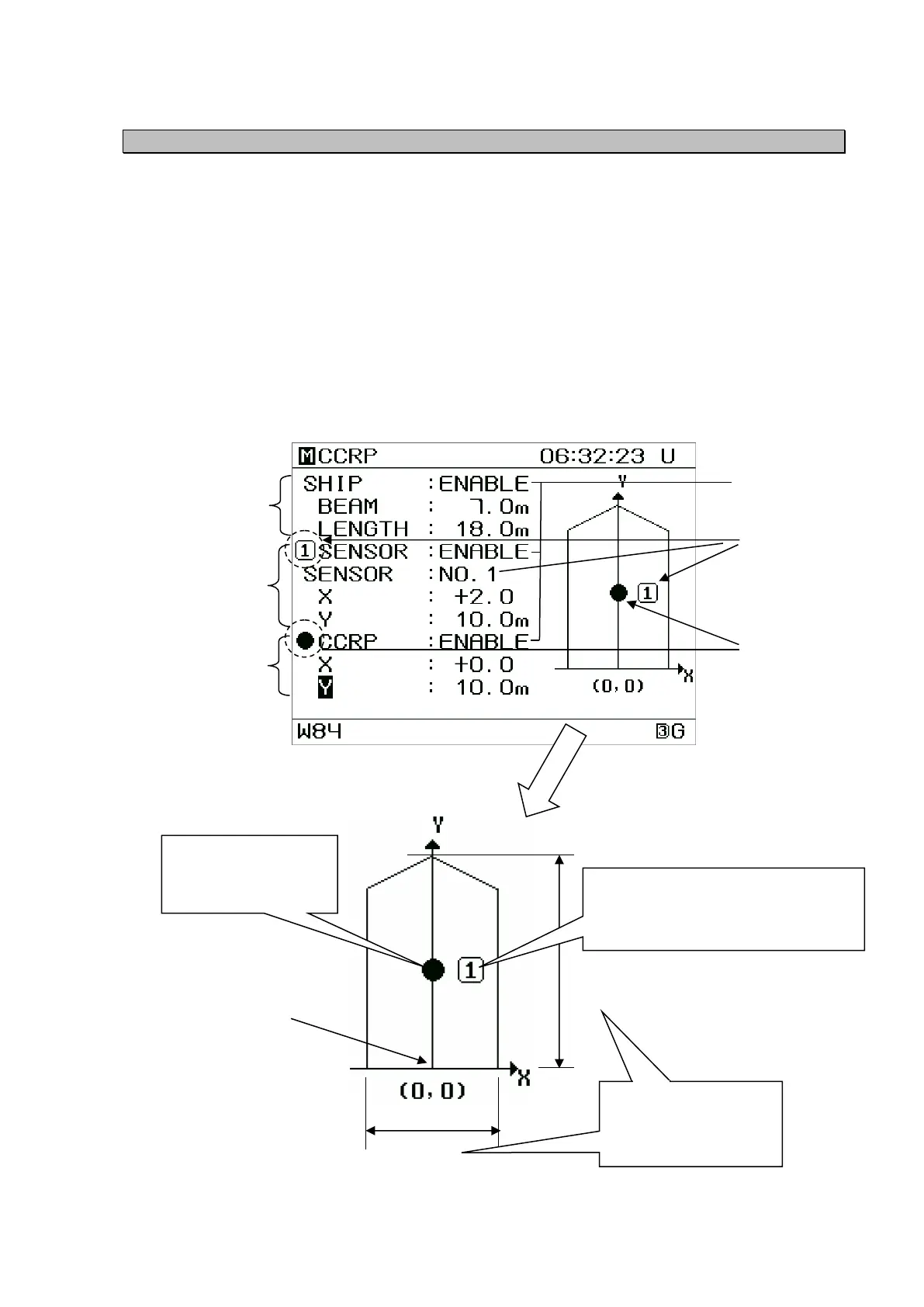
5.4.8 CCRP Settings
Selecting CCRP in “5.4 Maintenance Main Menu” displays a CCRP setting screen.
CCRP stands for Consistent Common Reference Point, and is a reference point for defining the
positional relationship of equipment installed outdoors using a common coordinate system.
(Only CCRP settings are allowed in this device, and a measurement conversion process to
CCRP is not available.)
[CCRP Settings]
“Ship Information”, “Sensor Unit Installation Position”, and “CCRP Information” are set.
“Sensor Unit Installation Position” and “CCRP Information” are set in the coordinate system
having the center of stern as the origin (The unit of measure is m.)
CCRP settings are not allowed when the display is set to the Sub Display setting (secondary
display setting); set CCRP in the main display unit (primary display unit.)
is displayed at
the position input in
“CCRP”.
The number set for
“SENSOR” is
displayed.
Input ship information.
Width: Ship beam
Length: Ship length
Input the
installation position
of a sensor unit.
Any number from 1
to 9 can be
Input CCRP
information (the
reference
p
oint
)
.
+18.0m
+7m
Select from Valid
or Invalid.
Example for setting
SENSOR(No.1 setted)
Point X: +2m
Point Y: 10m
CCRP
Point X: +0m
Point Y: 10m
origin
coordinate
SHIP
BEAM : +7m
LENGTH : +18.0m

Table of Contents

Related product manuals