EasyManua.ls Logo

JRC JLR-21 - Page 34

JRC JLR-21
164 pages
Print Icon
To Next Page IconTo Next Page
To Next Page IconTo Next Page
To Previous Page IconTo Previous Page
To Previous Page IconTo Previous Page
Loading...
2-16
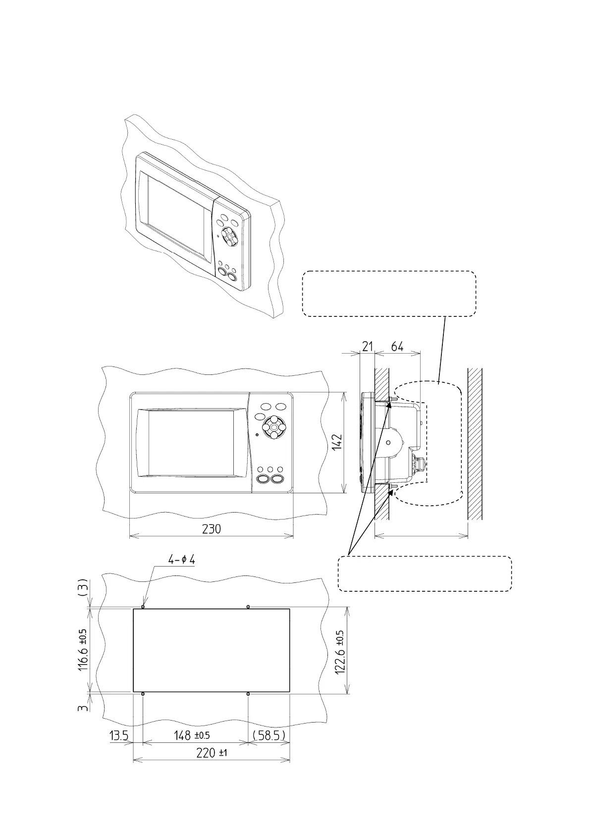
How to Flush Mount the Display
< For fixing the Display from the rear side with four flush mount screws of the option >
Refer to the diagram shown below for the mount hole and space.
Installation hole
dimensional drawing
Square Hole
180 or more
(Unit: mm)
Installation later, reserve the open
space to make maintain possible
this equipment.
Display is fixed with four flash
mount screws of the attachment.

Table of Contents

Related product manuals