EasyManua.ls Logo

Lockformer Vulcan 2900 - Lost Cut Recovery

Lockformer Vulcan 2900
65 pages
Print Icon
To Next Page IconTo Next Page
To Next Page IconTo Next Page
To Previous Page IconTo Previous Page
To Previous Page IconTo Previous Page
Loading...
11. LOST CUT RECOVERY
If the transferred arc loses contact with the workpiece, the plasma Unit will shut off the DC-power
to the torch and remove the machine motion input to the Lockformer control, stopping machine
motion.
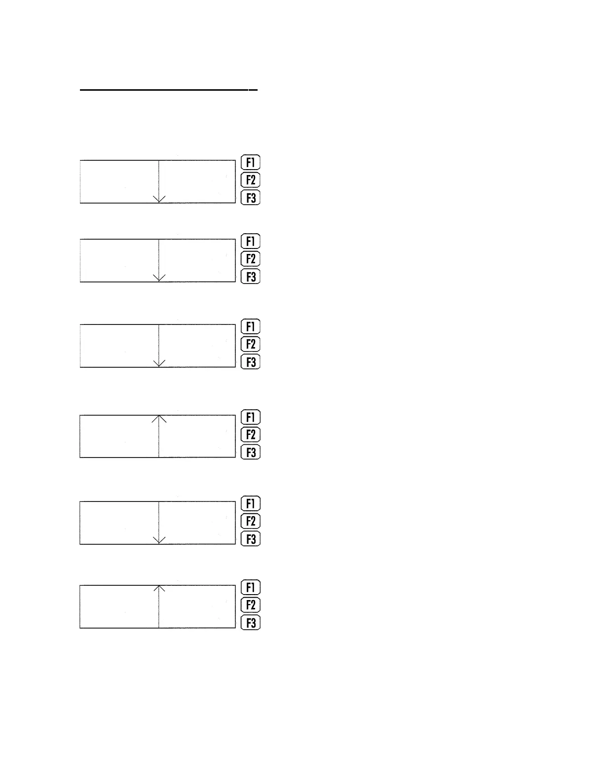
When this happens, a prompt message is displayed; "Lost
Cut Machine Stopped." To recover, press the RESUME
key.
Cut Loss
Path
Dry Run
Resume
If it is necessary to backup on the cut path, press the PATH
key.
Cut Loss
Path
Dry Run
Resume
Press the SLOW BACK key. Make sure to keep the key
pressed until the torch reaches the cut loss point on the
workpiece.
Hold F1 to
Backup
Slow Back
Slow Skip
Resume
If you wish to abort the job, press the down arrow to access
the ABORT key. This will cause the machine to move to the
(0,0) point when cutting the first sheet of the job. Otherwise
it will go to (0, 120).
Cut Loss
Path
Dry Run
Resume
When ready to restart the torch, press the RESUME key.
If you need to reverse direction over the cut path at a faster
speed, use the down arrow key to access the FAST BACK
function.
Hold F1 to
Backup
Fast Back
Fast Skip
Resume
Cut Mode
Go To
Abort
Page 8
H. WEISS MACHINERY & SUPPLY
H. WEISS MACHINERY & SUPPLY
PHONE: (718) 605-0395 - www.hweiss.com

Table of Contents

Related product manuals