EasyManua.ls Logo

Logosol B1651 - Page 49

Logosol B1651
115 pages
Print Icon
To Next Page IconTo Next Page
To Next Page IconTo Next Page
To Previous Page IconTo Previous Page
To Previous Page IconTo Previous Page
Loading...
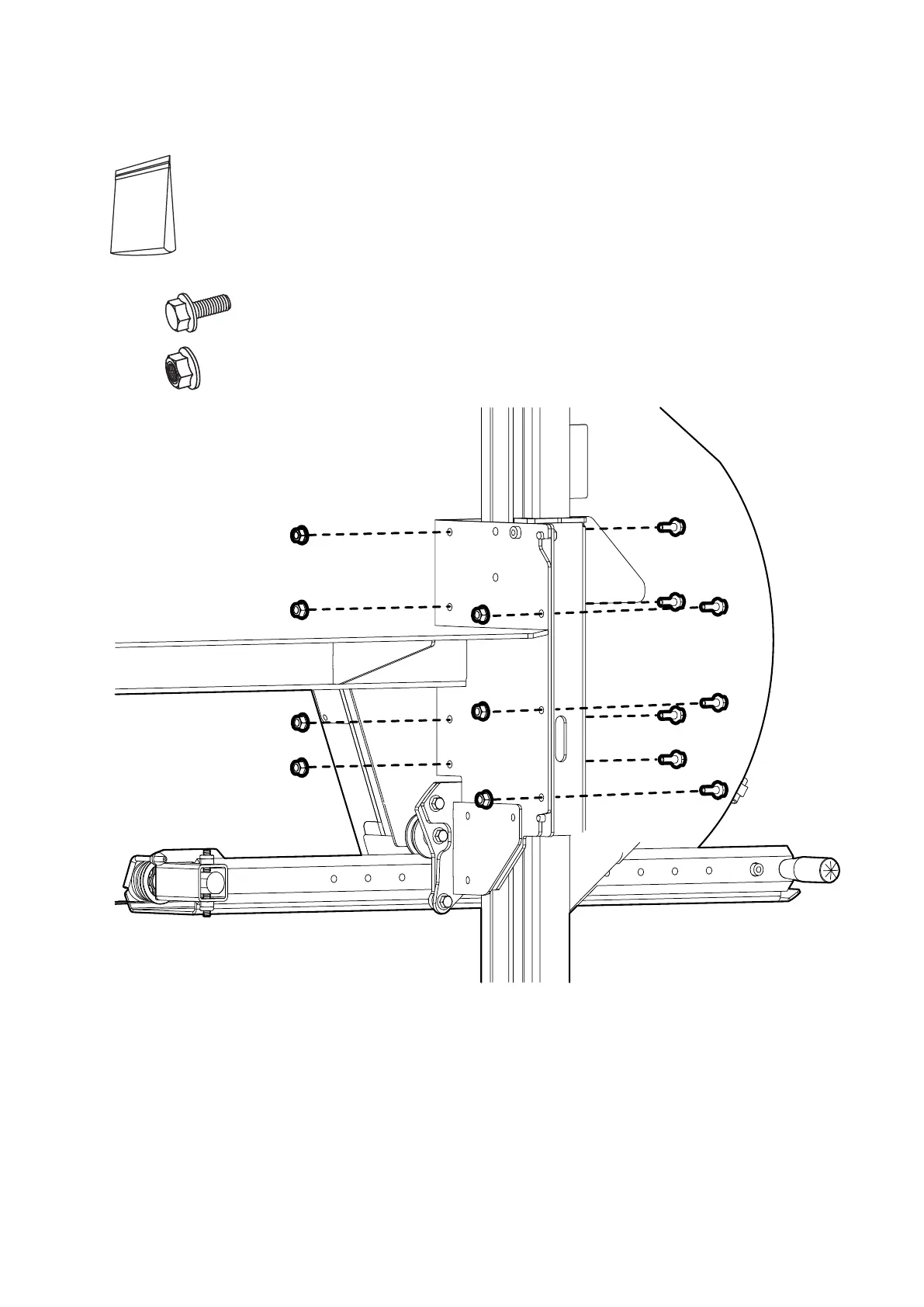
5.
7 x M8x20
7 x M8
USER MANUAL
49

Table of Contents

Related product manuals