EasyManua.ls Logo

LTV 1200 - Page 136

LTV 1200
341 pages
Print Icon
To Next Page IconTo Next Page
To Next Page IconTo Next Page
To Previous Page IconTo Previous Page
To Previous Page IconTo Previous Page
Loading...
Page 8-14 LTV
®
1200/1150 Ventilator Service Manual p/n 18603-001, Rev. C
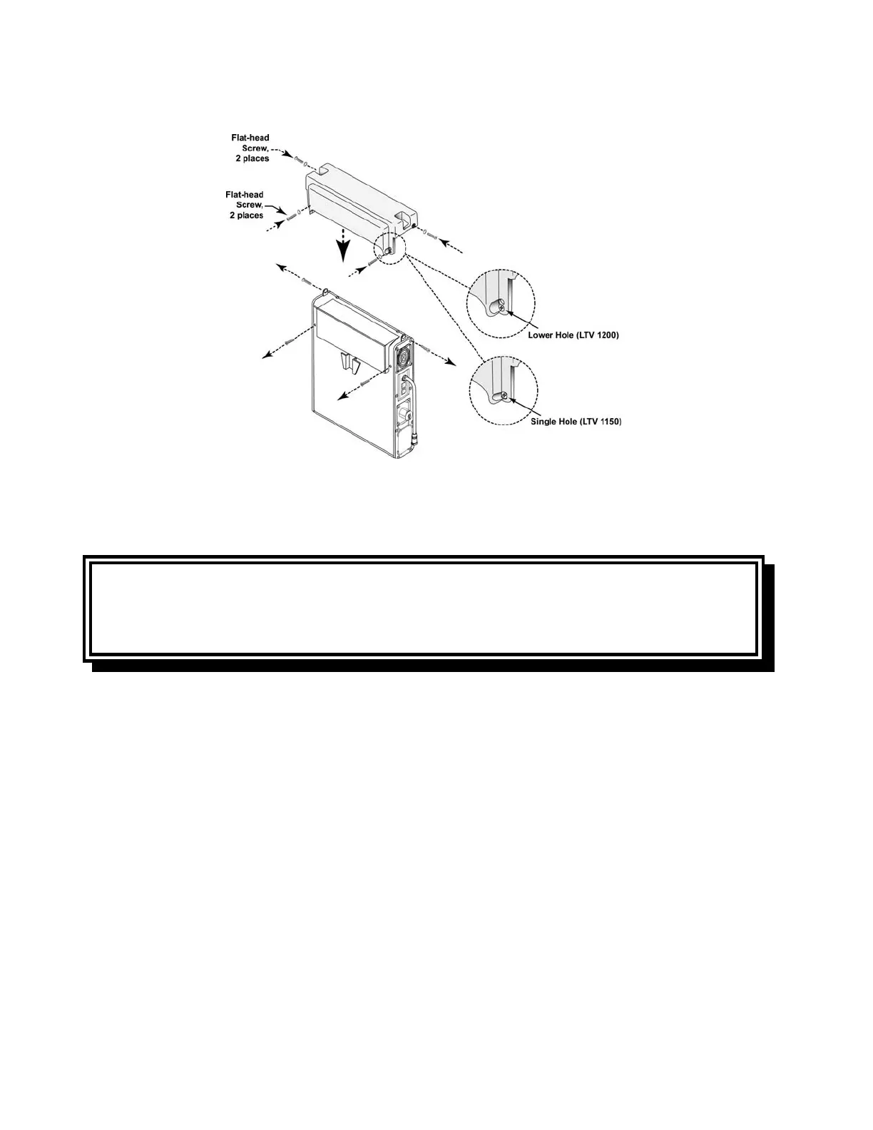
6) Torque tighten the mounting screws to these specified values
Torque tighten the screws in the legs of the boot to 60 in-oz (0.42 Nm)
Torque tighten the screws in the sides of the boot to 20 in-oz (0.14 Nm)
CAUTION
Damage to finish washers -Do not over tighten screws to avoid damage to the finish
washers.

Table of Contents

Related product manuals