EasyManua.ls Logo

Marantz AV7701 - Page 193

Marantz AV7701
266 pages
Print Icon
To Next Page IconTo Next Page
To Next Page IconTo Next Page
To Previous Page IconTo Previous Page
To Previous Page IconTo Previous Page
Loading...
193
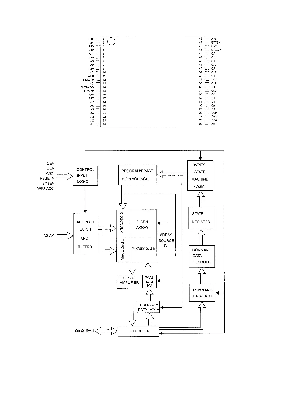
MX29LV160DBTI-70G (HDMI : IC410)
MX29LV160DBTI-70G Block Diagram

Table of Contents

Other manuals for Marantz AV7701

Related product manuals