EasyManua.ls Logo

Mindray PM-7000 - Chapter 2 Principles; General

Mindray PM-7000
82 pages
Print Icon
To Next Page IconTo Next Page
To Next Page IconTo Next Page
To Previous Page IconTo Previous Page
To Previous Page IconTo Previous Page
Loading...
Chapter 2 Principles
4
Chapter 2 Principles
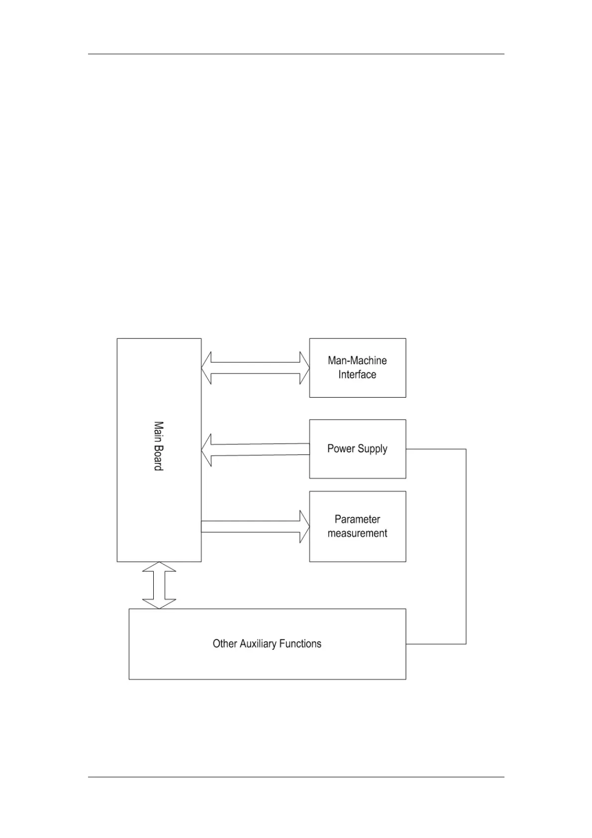
2.1 General
The intended use of the PM-7000 is to monitor a fixed set of parameters including ECG, RESP,
SpO
2
, NIBP, TEMP, IBP, CO and CO
2
(IBP, CO and CO
2
are optional). It consists of the
following functional parts:
Parameter measurement;
Main control part;
Man-machine interface;
Power supply;
Other auxiliary functions;
These functional units are respectively detailed below.
Figure 2-1 Structure of the PM-7000

Table of Contents

Related product manuals