EasyManua.ls Logo

Mindray PM-7000 - NIBP Module

Mindray PM-7000
82 pages
Print Icon
To Next Page IconTo Next Page
To Next Page IconTo Next Page
To Previous Page IconTo Previous Page
To Previous Page IconTo Previous Page
Loading...
Chapter 2 Principles
13
CPU System
Implementing the logical control of all the circuits;
Implementing the data processing for the SpO
2
parameter;
Implementing the communication with the main board.
Power & Signal isolate Circuit
Isolating the external circuits to ensure the safety of human body;
Supplying power for all circuits;
Implementing the isolation communication between the CPU System and the main
board.
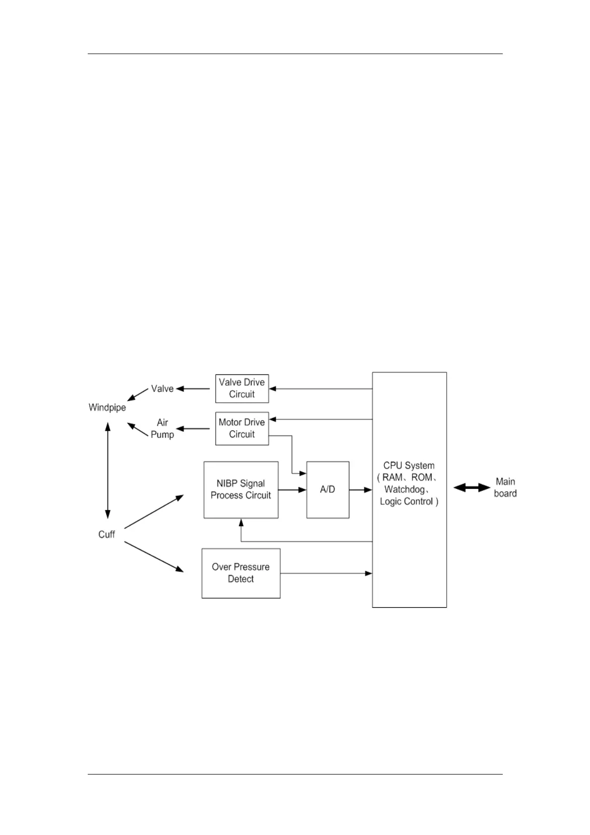
2.2.5 NIBP Module
2.2.5.1 General
This module provides the function of measuring the Non-Invasive Blood Pressure (NIBP)
parameter.
2.2.5.2 Principle diagram
Figure 2-8 Working principle of the NIBP module
2.2.5.3 Principle
The NIBP is measured based on the pulse vibration principle. Inflate the cuff which is on the
forearm till the cuff pressure blocks the arterial blood, and then deflate the cuff according to a
specified algorithm. While the cuff pressure is decreasing, the arterial blood has pulses, which
are sensed by the pressure transducer in the cuff. Consequently, the pressure transducer,
connected with the windpipe of the cuff, generates a pulsation signal, which is then processed
by the NIBP module to get the NIBP value.

Table of Contents

Related product manuals