EasyManua.ls Logo

Mindray PM-7000 - Power PCB

Mindray PM-7000
82 pages
Print Icon
To Next Page IconTo Next Page
To Next Page IconTo Next Page
To Previous Page IconTo Previous Page
To Previous Page IconTo Previous Page
Loading...
Chapter 2 Principles
16
CPU
Detecting the input signal of the button panel and control knob;
Controlling the status of LED;
Controlling the audio process circuit;
Regularly resetting the Watchdog timer;
Communicating with the main board.
Audio Process Circuit
This circuit generates audio signals and drives the speaker.
Watchdog
When powered on, the Watchdog provides the reset signal for CPU.
The patient monitor provides the watchdog timer output and voltage detection functions.
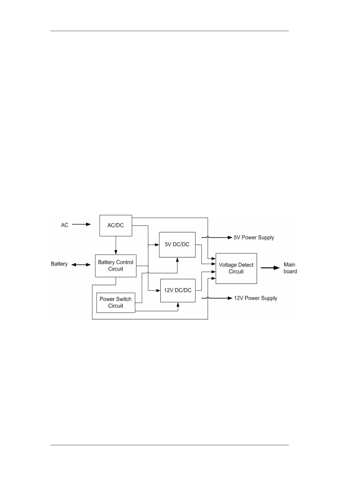
2.2.8 Power PCB
2.2.8.1 General
This module provides DC working current for other boards.
2.2.8.2 Principle diagram
Figure 2-11 Working principle of the power PCB
2.2.8.3 Principle
This module can convert 220V AC or the battery voltage to 5V DC and 12V DC voltages, which
are supplied for other boards. When the AC voltage and batteries coexist, the AC voltage is
supplied for the system and used to charge the batteries.
AC/DC
This part converts the AC voltage to the low DC voltage for the subsequent circuits; besides, it
supplies the power for charging the batteries.
Battery Control Circuit
When the AC voltage and batteries coexist, this circuit controls the process of charging the
batteries with the DC voltage converted by the AC/DC part. When the AC voltage is
unavailable, this circuit controls the batteries to supply power for the subsequent circuits.

Table of Contents

Related product manuals