EasyManua.ls Logo

Mitel MX-ONE - Page 7

Mitel MX-ONE
49 pages
Print Icon
To Next Page IconTo Next Page
To Next Page IconTo Next Page
To Previous Page IconTo Previous Page
To Previous Page IconTo Previous Page
Loading...
INSTALLING BOARDS AND CABLING
7 21/1531-ASP11301 Uen B3 2016-02-17
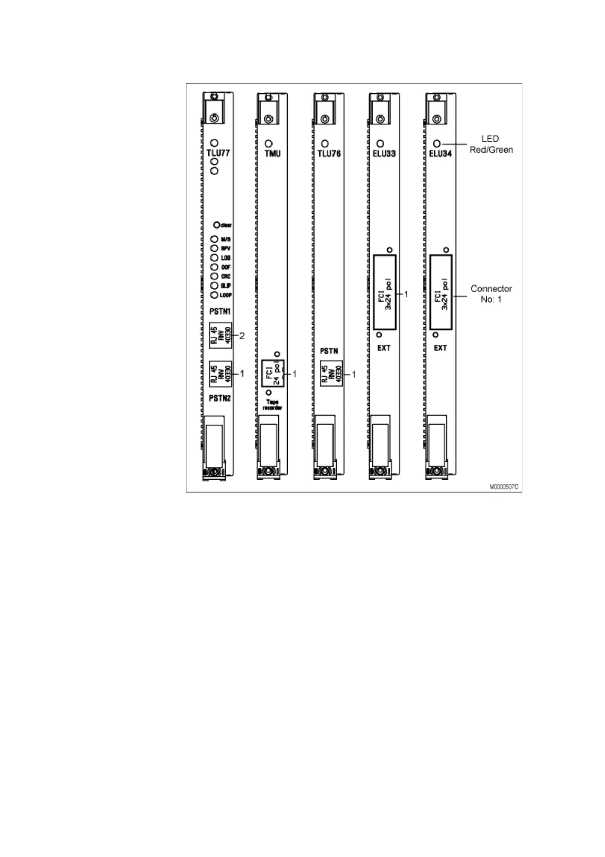
Figure 2: TLU77, TMU, TLU76, ELU33, and ELU34 Board Fronts

Table of Contents

Other manuals for Mitel MX-ONE

Related product manuals