EasyManua.ls Logo

Mitsubishi Electric CR760-D - Setting Areas; Position Area

Mitsubishi Electric CR760-D
730 pages
To Next Page IconTo Next Page
To Next Page IconTo Next Page
To Previous Page IconTo Previous Page
To Previous Page IconTo Previous Page
Loading...
5-476 About user-defined area
5Functions set with parameters
5.8.2 Setting Areas
Areas to be set include a position area, posture area, and additional axis area.
The following is a description of the steps that are followed to set these areas.
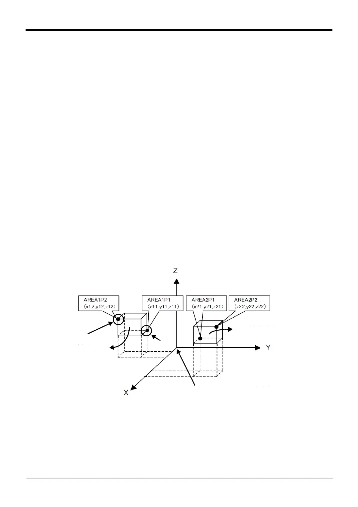
(1) Position Area
A position area for user-defined area is defined by the coordinates of a diagonal point which is determined
by the elements X, Y and Z in the parameters AREA*P1 and AREA*P2(* is 1 to 32).
The coordinate values thus determined are those which refer to the coordinate system selected by the
parameter AREA*CS(* is 1 to 32).
<NOTES>
1) If you proceed with operation after making a change to a world coordinate system by the Base com-
mand or the like and, in addition, select a "base coordinate system" from the coordinate system
options for the user-defined area, make area settings, taking note of the following points:
Coordinate values to be specified for elements X, Y and Z in the parameters AREAnP1 and
AREAnP2 must be those that were specified for the coordinate system selected in the parameter
AREAnCS.
XYZ coordinate values displayed on the T/B, RT ToolBox or the like are those that refer to the world
coordinate system. Thus, when "base coordinate system" is selected in the parameter AREAnCS,
coordinate values appearing on the display differ from those to be specified.
In this case, it is necessary to make settings either by converting the displayed coordinate values into
those for the base coordinate system or by temporarily returning the world coordinate system to its
initial state. (The base coordinate system and world coordinate system are in agreement at factory
shipping)
2) The judgments of inside or outside of the user definition area are 0.001mm and 0.001 degree unit.
Therefore, if the boundary line of the area, the judgment result may get unfixed.
3) If elements X, Y and Z in the parameter AREAnP1 are interchanged with those in the parameter
AREAnP2, user-defined area remains the same.
対角点 2
ザ定義領域 1
対角点 1
ザ定義領域 2
標系はAREA CS
Diagonal point 2
Diagonal
point 1
User-defined area 1
User-defined area 2
Set up the coordinate system by AREAnCS

Table of Contents

Related product manuals