EasyManua.ls Logo

Mitsubishi Electric MELSEC-Q00U(J)CPU - Page 86

Mitsubishi Electric MELSEC-Q00U(J)CPU
588 pages
Print Icon
To Next Page IconTo Next Page
To Next Page IconTo Next Page
To Previous Page IconTo Previous Page
To Previous Page IconTo Previous Page
Loading...
84
(a) Before executing an interrupt program
Before executing the interrupt programs of the interrupt pointers I0 to I15, I28 to I31, I45, I49, and I50 to I255,
enable interrupts with the EI instruction. For details on the EI instruction, refer to the following.
MELSEC-Q/L Programming Manual (Common Instruction)
(b) Restrictions on programming
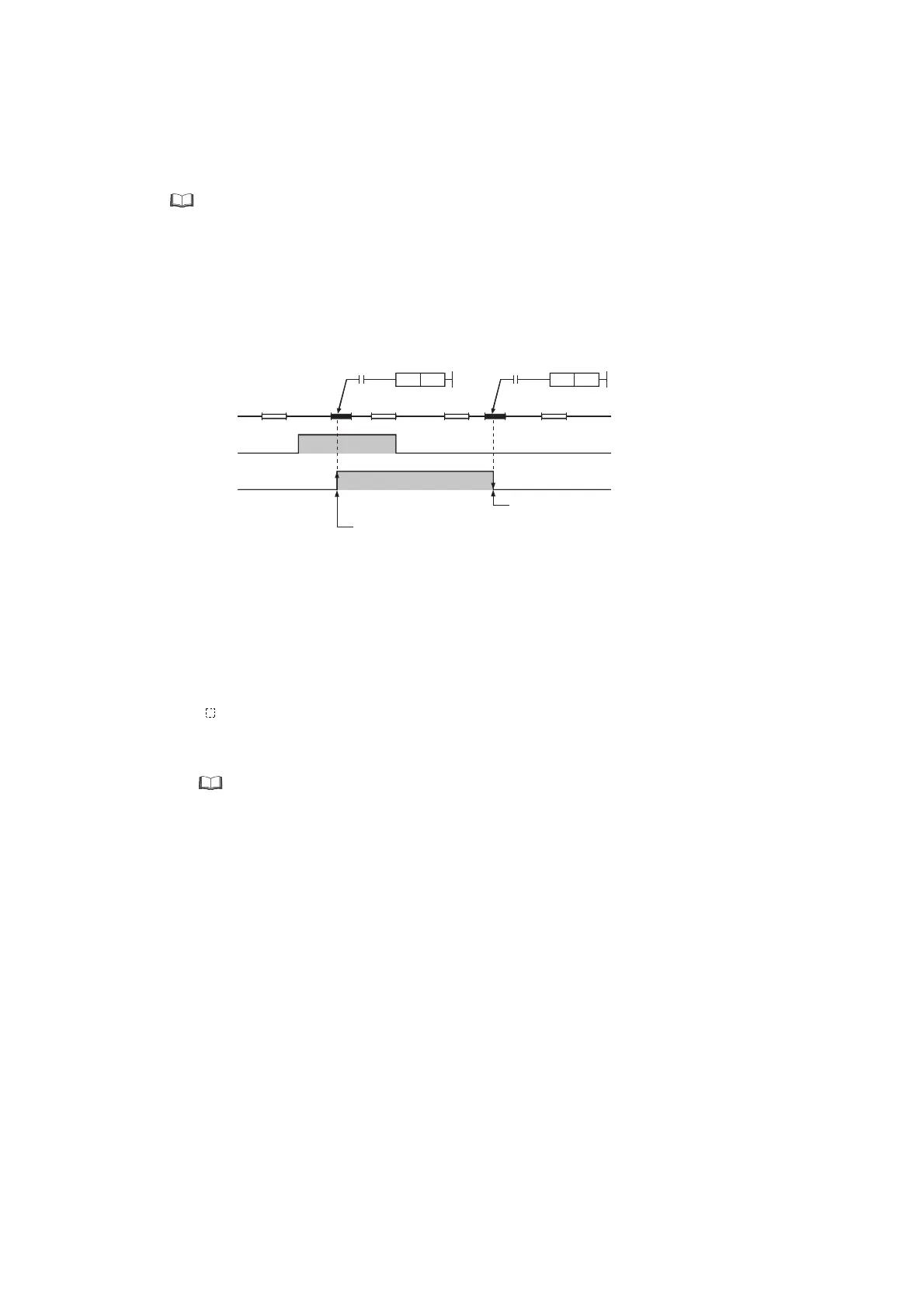
PLS and PLF instructions
The PLS and PLF instructions perform off processing in the next scan after the instruction is executed.
Therefore, the device which is turned on by the instruction remains on until the same instruction is
reexecuted.
EI and DI instructions
During execution of an interrupt program, interrupts are disabled (DI) so that any other interrupt
processing will not be executed. Do not execute the EI or DI instruction during interrupt program
execution.
Timer (T) and counter (C)
Do not use the timer (T) and counter (C) in interrupt programs. If more than one interrupts occur in one
scan, the timer (T) and counter (C) in the interrupt program cannot measure the time correctly. The OUT
C instruction status causes the counter (C) measure the number of interrupts incorrectly.
Instructions not available in interrupt programs
Refer to sections corresponding to each instruction in the following.
MELSEC-Q/L Programming Manual (Common Instruction)
X0
OFF
ON
M0
OFF
ON
0
IO
IRET
ENDEND
0
END END
0
IO IRET
0
PLS M0
X0
PLS M0
X0
Turns off by executing the
PLS M0 instruction.
Turns on by executing the PLS M0 instruction at the rise of X0.

Table of Contents

Related product manuals