EasyManua.ls Logo

Motion Control Engineering Motion 3000ES - CT Parameter Entry; CT Saving Parameters; CT Parameter Check

Default Icon
81 pages
Print Icon
To Next Page IconTo Next Page
To Next Page IconTo Next Page
To Previous Page IconTo Previous Page
To Previous Page IconTo Previous Page
Loading...
Motion 3000ES Escalator Control
10 Manual # 42-02-E001
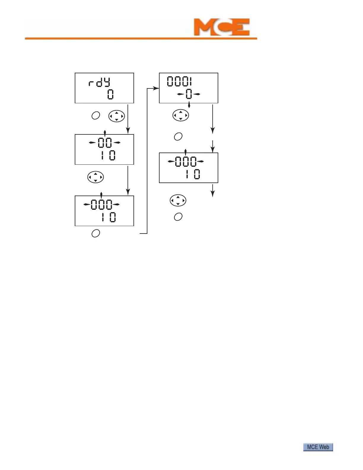
CT Parameter Entry The graphic below provides the parameter editing sequence.
CT Saving Parameters Once you have set parameters as desired, you must do the fol-
lowing to save them:
1. Enter 1000 in parameter 0.00. (If the drive is in under voltage trip state or being sup-
plied from a 48V backup source, 1001 must be entered instead.)
2. Press the drive reset button.
CT Parameter Check Check the following parameters now. Please refer to “CT Drive
Parameters” on page 41. Set if needed.
•Motor rated frequency, Hz (0.47)
Motor rated current, A (0.46)
Motor rated speed, RPM (0.45)
Motor rated voltage, V (0.44)
Maximum frequency, Hz (0.02)
Acceleration rate, s/100Hz (0.03)
Deceleration rate, s/100Hz (0.04)
Ramp Mode Select = FAST (0.15)
At this point, shut down the controller before making field connections.
M
Status mode,
display not flashing
Press or
M
Press to enter edit mode
Parameter mode,
upper display flashing
Use to select
parameter
to edit
Use to select another parameter to edit
Use to change
value
M
Press to exit edit mode when ready
M
Press to return to status mode
Edit mode,
character to edit in lower line flashing
OR

Table of Contents

Related product manuals