EasyManua.ls Logo

Oki IP-5620 - Page 109

Oki IP-5620
141 pages
Go to English
To Next Page IconTo Next Page
To Next Page IconTo Next Page
To Previous Page IconTo Previous Page
To Previous Page IconTo Previous Page
Loading...
108
11
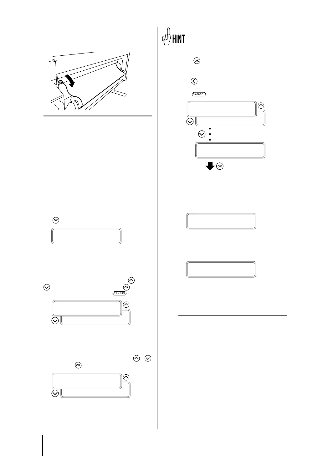
Baje la palanca arriba/abajo del rodillo de presión.
Después de esto, siga las instrucciones en la pantalla LCD.
Nota
- Para bajar (presionar) el rodillo de presión aquí, baje la
palanca arriba/abajo del rodillo de presión a la posición más
baja.
12
Abra la cubierta frontal y alinee los protectores de
los bordes del papel sobre ambos extremos del
papel. Después, cierre la cubierta frontal.
Compruebe que los protectores de bordes del papel no vayan
debajo del papel y que el papel grueso no quede atascado
entre los mismos.
Después de confirmar visualmente que los protectores de
bordes del papel se han colocado correctamente, presione la
tecla
.
COMPR. PROT. BORDES
*¿ACEPTAR?
13
Seleccione el papel enrollado o el papel de corte
(hoja).
Es posible seleccionar [rollo] u [hoja] con la tecla o la tecla
. Aquí, seleccione [rollo] y presione la tecla . (Para volver
a la selección de papel, presione la tecla .)
SELECCIONAR PAPEL
ROLLO/HOJA: HOJA
SELECCIONAR PAPEL
ROLLO/HOJA: ROLLO
14
Seleccione el tipo de papel.
Seleccione el tipo de papel registrado con las teclas y,
y presione la tecla
.
SELECCIONAR PAPEL
PAPEL: XXX
SELECCIONAR PAPEL
PAPEL: PAPEL
Para registrar un nuevo papel
[ENTRADA NUEVO PAPEL] se muestra al final del registro del papel.
Presione la tecla para ingresar en el [MEDIA REG MENU] (MENÚ
REG. PAPEL). El procedimiento de registro del papel es el mismo que el
registro desde el menú de registro.
Presione la tecla para volver del menú de registro del papel al menú
de selección del tipo de papel. Para volver al valor antes de la entrada,
presione la tecla .
SELECCIONAR PAPEL
PAPEL: XXX
SELECCIONAR PAPEL
PAPEL: PAPEL
SELECCIONAR PAPEL
ENTRADA NUEVO PAPEL
El papel registrado aparece en pantalla.
(Ingrese en el menú de registro.)
15
Ingrese la longitud restante de papel.
Ingrese la longitud restante del papel enrollado cargado en la
impresora.
DEF. PAPEL RESTANTE
*XXXm
16
La operación de conguración de papel comienza
automáticamente.
PREPARANDO PAPEL
ESPERE
- Cuando ha terminado correctamente, la impresora vuelve al
estado en línea o fuera de línea.
- Si ocurre un error, se mostrará un mensaje de error. Vuelva al
paso 1 y comience el procedimiento nuevamente.
Nota
- Después de instalar el papel, compruebe que el papel no
ingrese en el espacio de la cuchilla de corte del papel o
quede apretado por el gancho para sujetar papeles. También
asegúrese de que el papel en la platina no posee dobleces ni
arrugas.

Table of Contents

Related product manuals