EasyManua.ls Logo

Oki IP-5620 - Page 9

Oki IP-5620
141 pages
Go to English
To Next Page IconTo Next Page
To Next Page IconTo Next Page
To Previous Page IconTo Previous Page
To Previous Page IconTo Previous Page
Loading...
8
11
 
以降、LCD 画面上のガイダンスに従って操作し
ます。
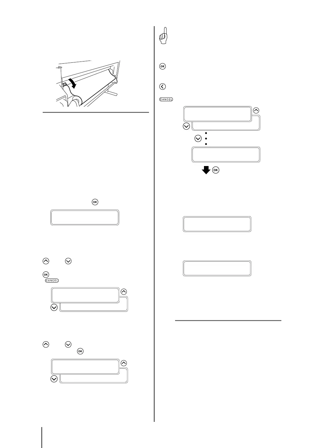
注 意
ラーをダウンさせるために、
一番下の位置まで下げてださい。
12


 
メディアエッジガードがメディアの下に入り込
んでいたり、厚いメディアを無理に挿し込んで
引っかかったりしていないか確認します。
メディアエッジガードが正しくセットされてい
ることを目視確認し、 キーを押します。
エッジガードカクニン
*OK?
13


ー, キーで「ロール」か「シート」が
選択できます。ここでは「ロール」を選択し
キーを押します。
キーでメディア選択を元に戻します。
メテ゛ィアヲセンタクシテクタ゛サイ
メテ゛ィアセンタク:シート
メテ゛ィアヲセンタクシテクタ゛サイ
メテ゛ィアセンタク:ロール
14
 
ー, キーで登録されているメディアの
種類を選択し、
キーを押します。
シュルイヲセンタクシテクダサイ
シュルイセンタク:XXX
シュルイヲセンタクシテクダサイ
シュルイセンタク:PAPER
参考

登録済みメディアの最後に「メディアヲトウロクシテ
クダサイ」が表示されます。
キーを押すと、メディア登録メニューに入ります。
メディア登録方法は、トウロクメニューから登録する
場合と同じ操作方法となります。
キーを押すと、メディア登録メニューからメディア
の種類選択メニューに戻ります。
キーを押すと、入力前の値に戻ります。
シュルイヲセンタクシテクダサイ
シュルイセンタク:XXXXX
シュルイヲセンタクシテクダサイ
シュルイセンタク:PAPER
シュルイヲセンタクシテクダサイ
メディアヲトウロクシテクダサイ


15
 
プリンターに取り付けたロールメディアの残量
を入力してください。
ザンリョウヲセットシテクダサイ
*XXXm
16

ザンリョウヲセットシテクダサイ
*XXXm
y
正常に終了した場合は、オンラインの状態ま
たは、オフラインの状態に戻ります。
y
正常に終了しなかった場合は、エラーメッセー
ジが表示されます。
手順 に戻ってやり直してください。
注 意
ィア ィア ィア
ブレー(オプシン)のすき間に入り込
でいな、メ(オプ)に
れてテンのメデ
やシワがないかなどを確認しださい。

Table of Contents

Related product manuals