EasyManua.ls Logo

Olivetti PR 4 - Page 51

Olivetti PR 4
105 pages
Print Icon
To Next Page IconTo Next Page
To Next Page IconTo Next Page
To Previous Page IconTo Previous Page
To Previous Page IconTo Previous Page
Loading...
Epson TM-U950 Commands 4-15
ESC * m nL nH [d]nL + 256
x
nH
Select bit-image mode
Hexadecimal code: 1B 2A ..
Range:
m = 0, 1
nL = 0-255
nH = 0-3
d = 0-255
Selects a bit-image mode using
m
for the number of dots specified by
nL
and
nH
, as follows:
m No. of Horizontal Direction Maximum number of dots
vertical
dots
Dot Density Adjacent dots Paper roll Slip
0 8 Single density Permitted 180 400
1 8 Double Density Prohibited 360 800
Notes:
-
Divide the number of dots to be printed by 256. The integer answer is
nH
and the
remainder is
nL
. Therefore, the number of dots in the horizontal direction is calculated by
nL
+
256
x
nH
.
- If the bit-image data input exceeds the number of dots to be printed on a line, the excess
data is ignored.
-
d
indicates the bit-image data. Set a corresponding bit to 1 to print a dot or to 0 to not print
a dot.
-
If the values of
m
and
nH
are out of the specified range, the following data are processed
as normal data.
- After printing a bit image, the printer returns to normal data processing mode.
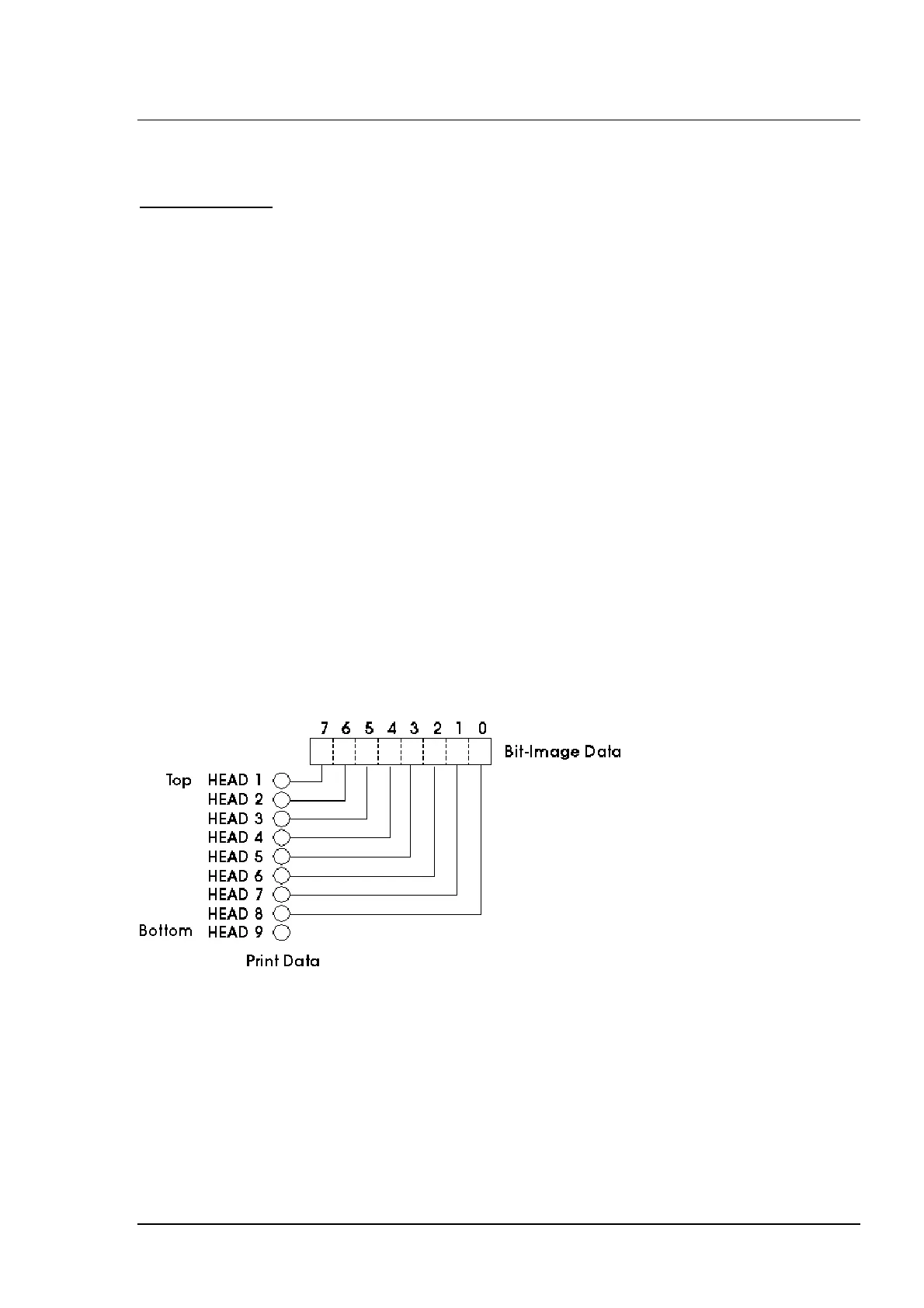
- The relationship between the image data and the dots to be printed is shown below:

Table of Contents

Related product manuals