EasyManua.ls Logo

Olympia CM 721 - Currency Conversion Program; Programming Currency Conversion; Euro in the Period 01.01.1999 - 31.12.2001

Olympia CM 721
42 pages
Print Icon
To Next Page IconTo Next Page
To Next Page IconTo Next Page
To Previous Page IconTo Previous Page
To Previous Page IconTo Previous Page
Loading...
5/621/6400 (04) Currency conversion program
37
Currency conversion program
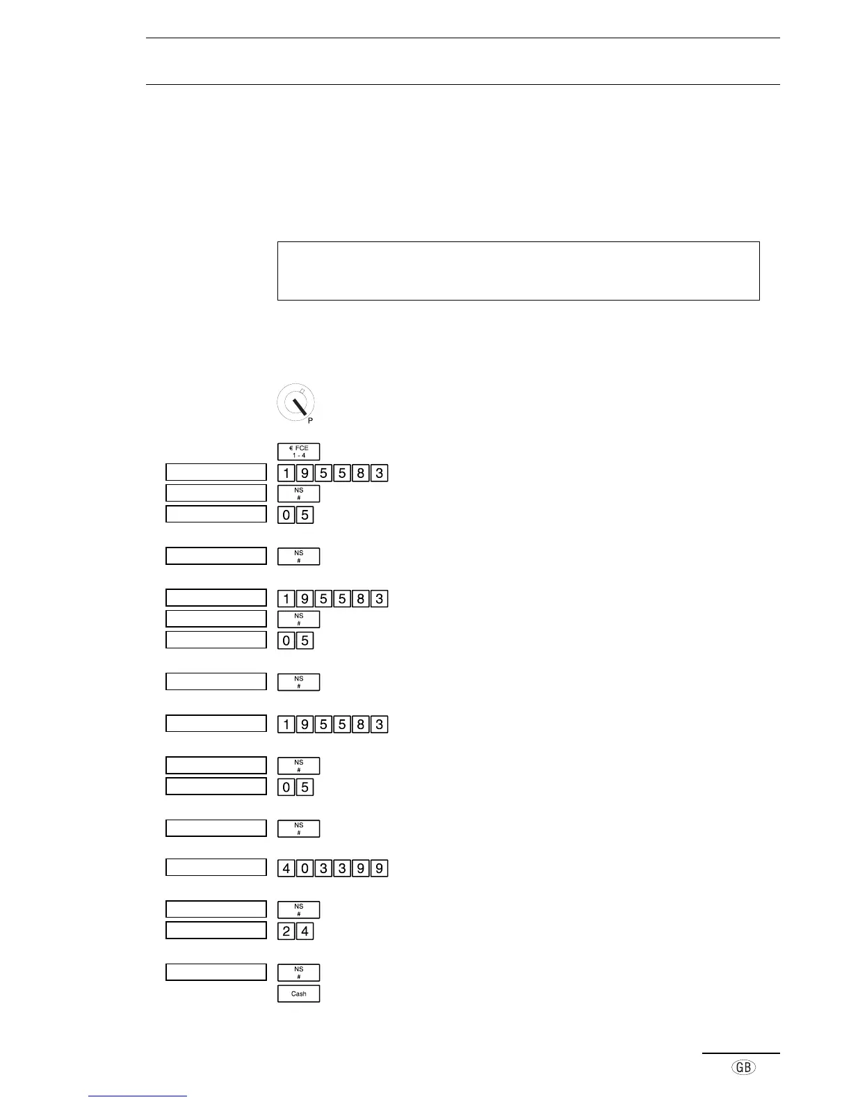
Programming currency conversion
Up to four different currencies and their conversion factors can be programmed in
order to convert an amount or total sum of a transaction. Programming is performed in
two steps; the conversion factor and the number of decimal places must be defined.
Also refer to the (Flags 32 to 34). It is necessary to distinguish between three cases:
Note: The conversion factors for the currencies must be entered as six-digit values.
The following currency conversions relate to the German conversion rate
for the Euro.
Euro in the period 01.01.1999 - 31.12.2001
Local currency = DM.
The currencies (FCE keys) must be programmed as follows:
Set the key to position P
Open the currency conversion program
Define the conversion factor for EC Card payments
Move to the next setting
0 = compulsory input; 5 = decimal places of the six-
digit conversion factor
Move to the next setting
Define the conversion factor for check payments
Move to the next setting
0 = compulsory input; 5 = decimal places of the six-
digit conversion factor
Move to the next setting
Define the conversion factor for cash payments in
Euro and Euro table (three-way conversion factor)
Move to the next setting
0 = compulsory input; 5 = decimal places of the six-
digit conversion factor
Move to the next setting
Define the conversion factor for the first foreign
currency (e.g. Belgian Francs, BEF)
Move to the next setting
2 = compulsory input; 4 = decimal places of the six-
digit conversion factor
Move to the next setting
Close the currency conversion program
Á¿¹±±¯µµ®³
Á¿¹±°
Á¿¹²±¯µµ®³
Á¿¹²°
Á¿¹³±¯µµ®³
Á¿¹³°
À»¼±°µ
À»¼±°°
À»¼²°µ
À»¼²°°
À»¼³°µ
À»¼³°°
Á¿¹´´°³³¯¯
Á¿¹´°
À»¼´²´
À»¼´°°

Table of Contents

Related product manuals