EasyManua.ls Logo

OPTICOM 764 - Page 35

OPTICOM 764
73 pages
Print Icon
To Next Page IconTo Next Page
To Next Page IconTo Next Page
To Previous Page IconTo Previous Page
To Previous Page IconTo Previous Page
Loading...
Intersection Equipment Installation Instructions
35
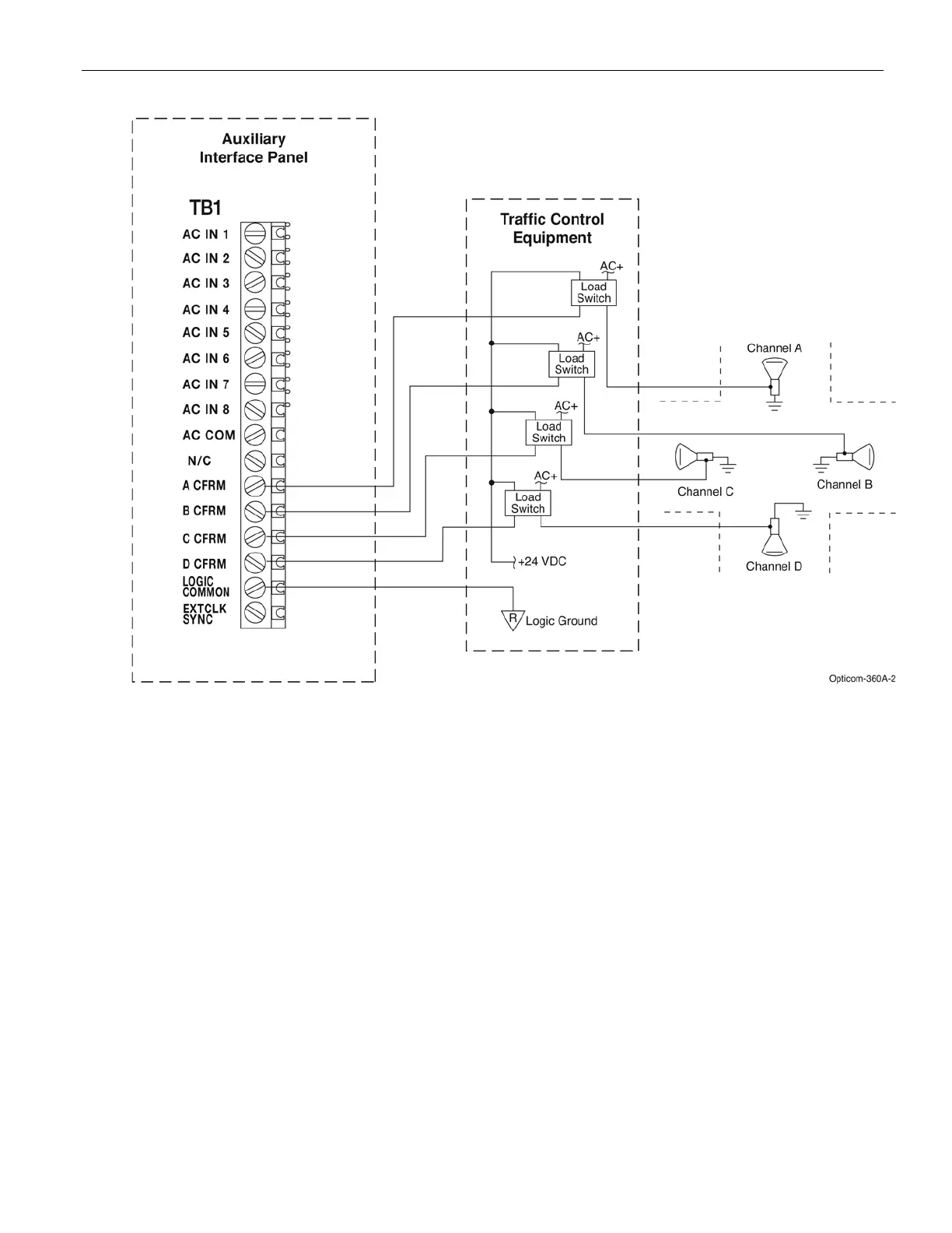
Figure 9-3. Confirmation Light Wiring with Load Switch Interface

Table of Contents