EasyManua.ls Logo

Panasonic KX-TCD705RUM - 5 Circuit Operation (Base Unit); The Base-Band Section

Panasonic KX-TCD705RUM
80 pages
Print Icon
To Next Page IconTo Next Page
To Next Page IconTo Next Page
To Previous Page IconTo Previous Page
To Previous Page IconTo Previous Page
Loading...
5 CIRCUIT OPERATION (BASE UNIT)
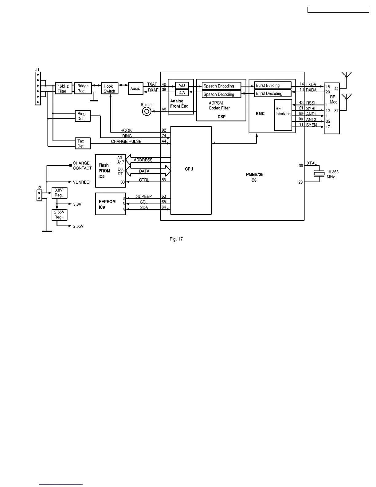
BLOCK DIAGRAM BASEBAND SECTION AND LINE INTERFACE (BASE UNIT)
5.1. THE BASE-BAND SECTION
5.1.1. INTRODUCTION (SEE Fig. 17)
The base-band section consists of a base-band integrated circuit (BBIC), a Flash PROM and an EEPROM.
5.1.2. THE BASE-BAND INTEGRATED CIRCUIT (BBIC)
The PMB6725 (IC8) is a CMOS device designed to handle all the audio, signal and data processing needed in a DECT base
unit. It contains a "burst mode controller" which takes care of DECT specific physical layer and radio section control. It also
contains an ADPCM codec filter used for speech encoding and decoding in the DSP section, a general purpose microcontroller,
various other ADC´s, DAC´s, timers and power control circuitry.
The BBIC interfaces to its external PROM (IC5) via a data/address/control bus. It connects to the EEPROM via a serial
interface, and a second serial interface is used during manufacture and service to connect to an external computer.
17
KX-TCD705RUM / KX-TCD705RUS

Table of Contents

Related product manuals