EasyManua.ls Logo

Panasonic KX-TCD705RUM - Rf Section

Panasonic KX-TCD705RUM
80 pages
Print Icon
To Next Page IconTo Next Page
To Next Page IconTo Next Page
To Previous Page IconTo Previous Page
To Previous Page IconTo Previous Page
Loading...
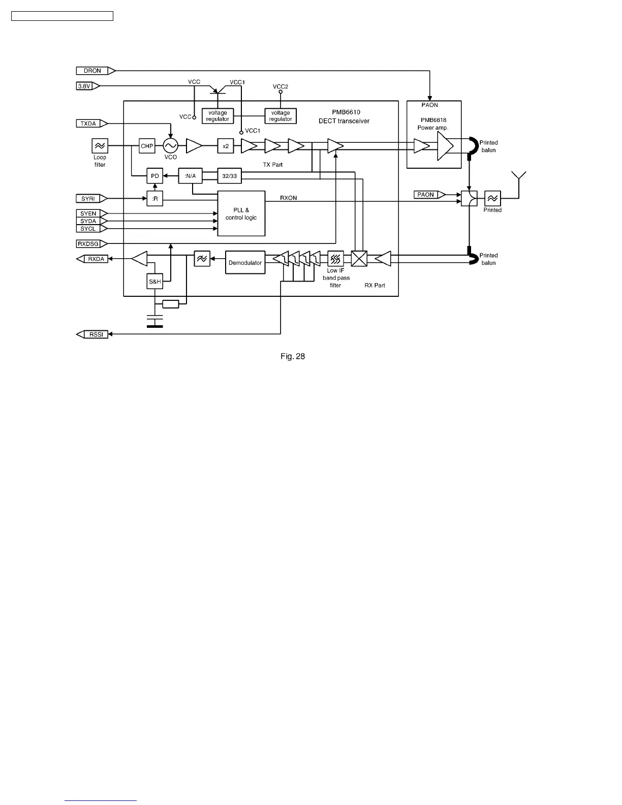
6.2. RF SECTION
6.2.1. BLOCK DIAGRAM RF SECTION (HANDSET)
The RF section consists of two main components: The PMB6610 transceiver and the PMB6618 power amp.
In the transceiver the 10.368MHz clock signal SYCL is multiplied to around 1.9GHz using PLL (Phase Locked Loop) control.
The TXDA signal is used to control the modulation of this frequency to 1.87GHz to 1.93GHz.
Received signals are demodulated, filtered and sent to the BBIC via the RXDA line.
30
KX-TCD705RUM / KX-TCD705RUS

Table of Contents

Related product manuals