EasyManua.ls Logo

Panasonic SA-PM33EE - Error Code Table for Self-Diagnosis

Panasonic SA-PM33EE
94 pages
Print Icon
To Next Page IconTo Next Page
To Next Page IconTo Next Page
To Previous Page IconTo Previous Page
To Previous Page IconTo Previous Page
Loading...
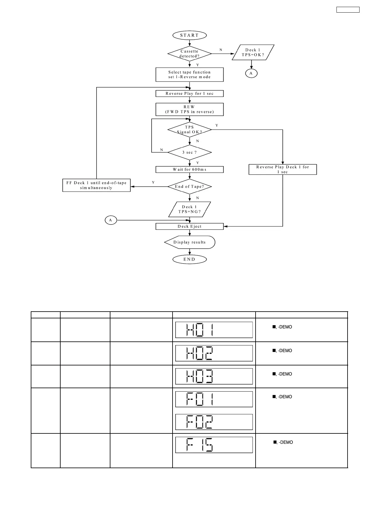
8.2. Error Code Table
Self-Diagnosis Function provides information on any problems occuring for the unit and its respective components by displaying
error codes. Thesed error code such as U**, H** and F** are stored in memory and held unless it is cleared.
The error code is automatically display after entering into self-diagnostic mode.
Error Code Diagnosis Contents Description of error Automatic FL Display Remarks
H01 MODE SW abnormal For deck mechanism unit.
Press [
] on main unit for next
error.
H02 REC INH SW
abnormal
For deck mechanism unit.
Press [
] on main unit for next
error.
H03 HALF SW abnormal For deck mechanism unit.
Press [
] on main unit for next
error.
F01
F02
Reel pulse abnormal
TPS abnormal
For deck mechanism unit.
Press [
] on main unit for next
error.
F15 CD REST SW
Abnormal
CD traverse position intial
setting operation failsafe
counter (1000 ms) waiting
for REST SW toturn on.
Error No. shall be clear by
force or during cold start.
For CD unit (For Traverse).
Press [
] on main unit for next
error.
17
SA-PM33EE

Table of Contents

Related product manuals