EasyManua.ls Logo

Panasonic SC-HC30EF - Disassembly of IR P.C.B. and Ipod;Iphone Switch P.C.B

Panasonic SC-HC30EF
120 pages
Print Icon
To Next Page IconTo Next Page
To Next Page IconTo Next Page
To Previous Page IconTo Previous Page
To Previous Page IconTo Previous Page
Loading...
53
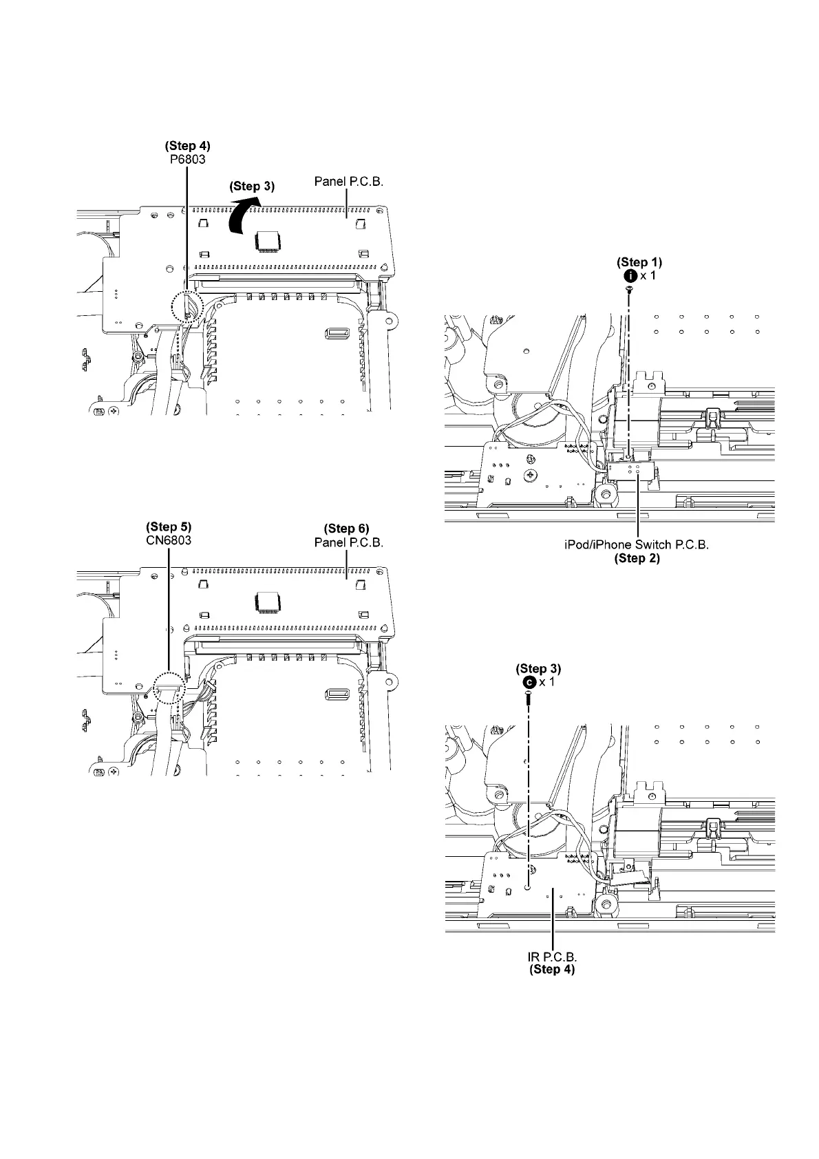
Step 3 : Lift up the Panel P.C.B..
Step 4 : Detach 7P wires at the connector (P6803) on the
Panel P.C.B..
Step 5 : Detach 10P FFC at the connector (CN6803) on the
Panel P.C.B..
Step 6 : Remove the Panel P.C.B..
9.30. Disassembly of IR P.C.B. and
iPod/iPhone Switch P.C.B.
Refer to “Disassembly of Stand Unit”.
Refer to “Disassembly of CD Door Ass’y”.
Refer to “Disassembly of Net Frame Assembly”.
Refer to “Disassembly of Front Panel Block”.
Step 1 : Remove 1 screw.
Step 2 : Lift up the iPod/iPhone Switch P.C.B..
Step 3 : Remove 1 screw.
Step 4 : Lift up IR P.C.B..

Table of Contents

Related product manuals