EasyManua.ls Logo

Physio Control LIFEPAK 9 - Page 189

Physio Control LIFEPAK 9
214 pages
Print Icon
To Next Page IconTo Next Page
To Next Page IconTo Next Page
To Previous Page IconTo Previous Page
To Previous Page IconTo Previous Page
Loading...
Component
Reference
Diagrams
6
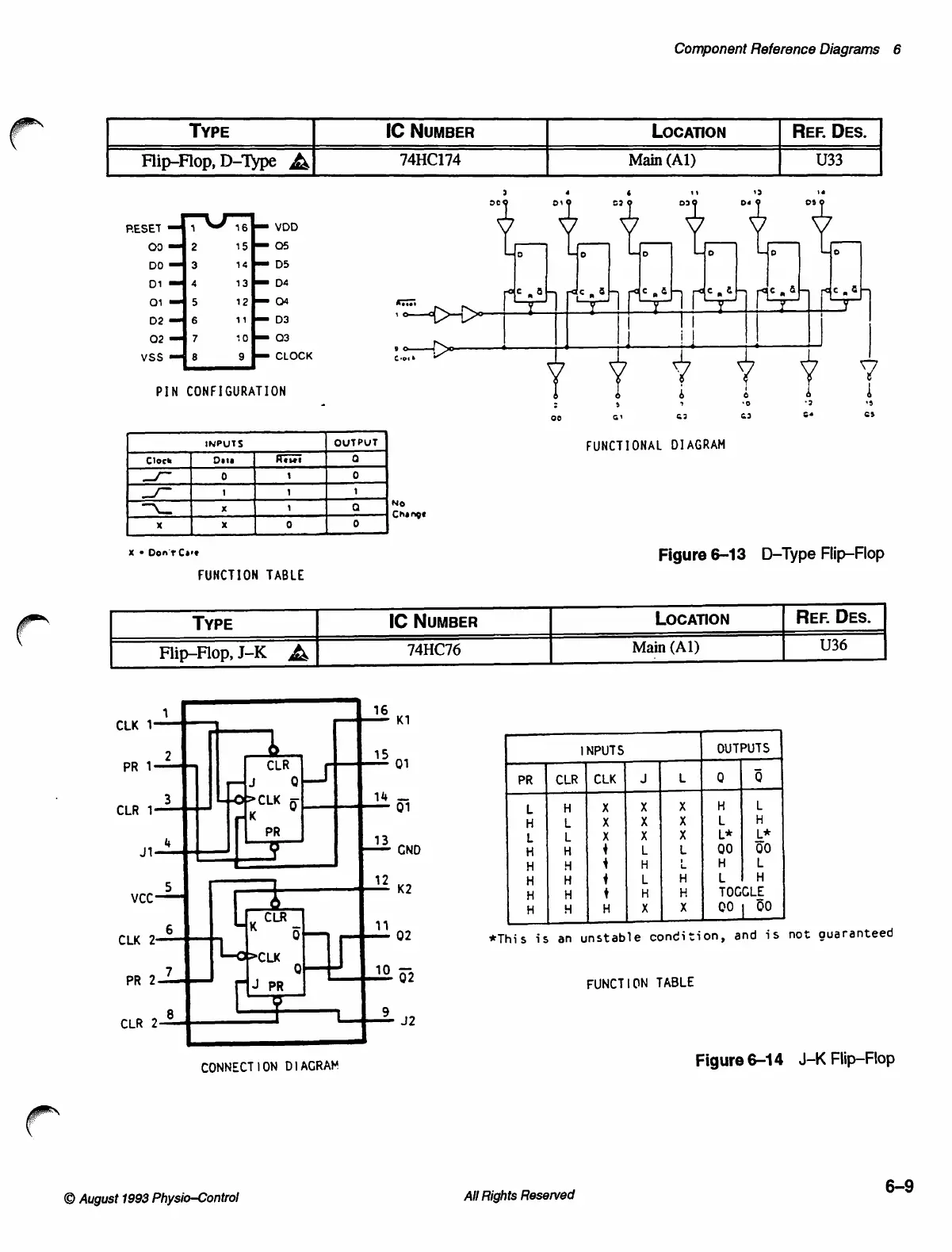
TYPE
IC
NUMBER
LOCATION
REF.
DES.
Flip-Flop,
D-Type
À
74HC174
Main
(Al)
U33
3
a 6
19
13
та
De
DI
5ο
23
De
os
RESET
1
me
VDD
O9
2
o
Os
DO
3
pes
DS
° °
° °
°
°
D1
4
um
DA
=
ac
„č
„8
Cal Cab
Caim
ρᾶς
,
0
5
o
157
4
р
Г
[|
[
]
Г |
02
=
6
==
D3
|
|
|
O2
=
7
=
сз
|
]
i
|
|
VSS
8
==
CLOCK
ban
>
v
PIN
CONFIGURATION
Y
Y
|
Y
Y
s
s
è
4
"2 E)
οὐ
a?
52
a9
oe
es
ms
FUNCTIONAL
DIAGRAM
ota
ST
0
1
x
Change
x x
X
©
Don't
Care
Figure
6-13
D-Type
Flip-Flop
FUNCTION
TABLE
f
`
ТУРЕ
IC
NUMBER
LOCATION
REF.
DES.
Flip-Flop,J-K
À
74HC76
Main
(A1)
U36
1
16
CLK
1
K1
2
å
15
INPUTS
OUTPUTS
PR
1
CLR
Q1
_
Jj
o
PR
|
CLRI
CLK]
J
L
Q
Q
3
ο
14
CLR
1
fm
4
Q1
L
H
x
X
X
H
L
7
PR
H
L X X X L
H
4
13
L
L X
x
X
L*
|
L*
J1
Y
CND
H
H
+
L
L
00
|
00
H
H
1
H
L
H
L
5
12
к)
H
|
H
Ý
L
H
L
H
VCC
A
H
H
t
H
H
TOGGLE
ČR
H
y
H
x
X
00
|
00
6
K
~
11
CLK
2
ο]
02
*This
is
an
unstable
condition,
and
is
not
guaranteed
Lo
o
o
7
10
PR
2
J
PR
Q2
FUNCTION
TABLE
CLR
JE
ULL
z
CONNECTION
DIAGRAM
Figure
6-14
J-K
Flip-Flop
©
August
1993
Physio—Control
All
Rights
Reserved
6-9

Table of Contents

Other manuals for Physio Control LIFEPAK 9

Related product manuals