EasyManua.ls Logo

Protec OPTIMAX 2010 NDT - Processor Functions and Modes

Protec OPTIMAX 2010 NDT
58 pages
Print Icon
To Next Page IconTo Next Page
To Next Page IconTo Next Page
To Previous Page IconTo Previous Page
To Previous Page IconTo Previous Page
Loading...
OPTIMAX
2010 NDT
User Manual
516
0
-
0
-
PROTEC GmbH & Co. KG, In den Dorfwiesen 14, 71720 Oberstenfeld, Germany
22
von
58
5.1.4 Stand-by mode
When no film is being processed, the machine switches to Stand-by. The chemicals remain at a
constant temperature. The film transport and water inflow activate at intervals to avoid crystallization of
the chemicals on the transport rollers. Entry of the next film is possible at any time.
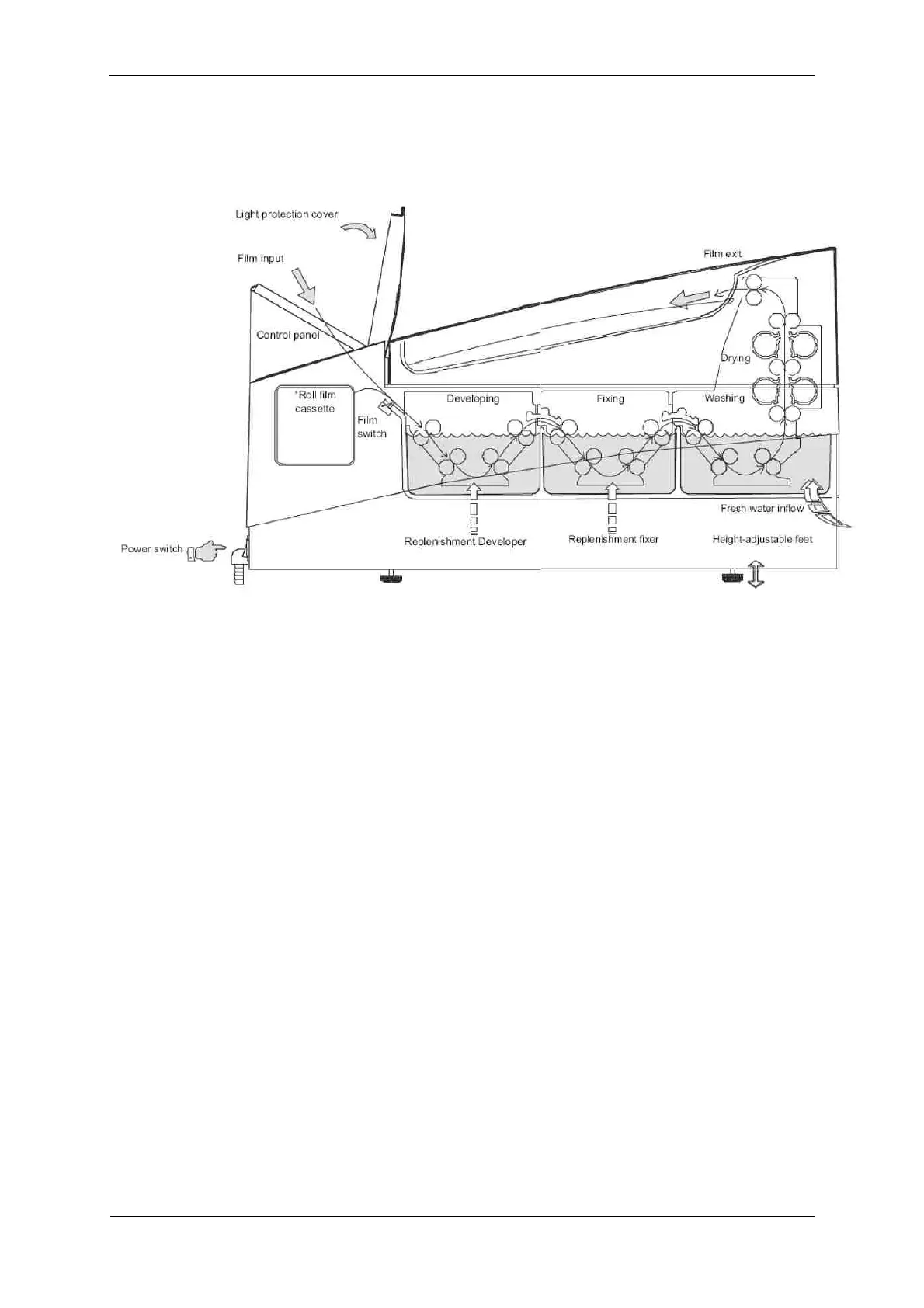
5.2 Function of the automated X-ray film processor
5.2.1 Switching on the machine
Before switching the machine on, open the fresh water tap and close the water drainage tap (under
control panel). Then switch the machine on (main switch is situated under the control panel). Once the
machine is switched on, a “Start-cycle” of eight minutes duration is activated: A replenishment cycle is
carried out, the water tank fills automatically and the chemical baths heat up. During this “Start-cycle”
no films can be fed into the machine. The display shows two bars “– –” when the processor is not ready
and no films can be fed in. This is the case during the “start cycle” and also when the baths have not
reached the temperature. Until the developer temperature is not reached, the developer temperature
button (5) is flashing. It is possible that the chemical bath has not reached the required temperature
even after the “Start-cycle” has been completed. You need to wait until the developer temperature is
reached, before inserting films. Wait until the bars “– –” disappear from the display.
5.2.2 Automatic mode
After completion of the “Start-cycle” and after a film-processing, the machine automatically goes into
the stand-by mode. In the stand-by mode the processor can be started at any time by placing a film
into infeed tray. Note that films can only be processed when the developer temperature is reached.
When the display shows two bars “– –” no films can be fed into the machine. The temperature in the
bath is too high or too low. However, when a film was fed into the machine, two bars with decimal
points “–. –.“. To avoid a jamming of films wait before feeding the next film in until this display
disappears (which is also signalled by an acoustic sound).
A film in the feed-tray is registered by two film detection switches and the machine starts up. The film is
pulled into the machine and transported through the developer, fixer and water baths. The remaining
time of processing i.e. until the film finally leaves the machine is displayed, when no more film is in the
infeed-tray and the processing time button was pressed. Each working-parameter can be called up on
the display by pressing the respective mode-button, however, during processing, parameters cannot
be altered. The temperatures of the developer and dryer are automatically regulated by the controller.
The replenishment rate of developer and fixer chemicals is activated according to the processed film-
surface (film-surface measurement). The dryer is heated to the set value. Inside the dryer, the film is
dried and then normally output onto the cover. The machine then goes into the stand-by mode. To

Table of Contents

Related product manuals