EasyManua.ls Logo

RIDGID MS1060 - Repair Parts Identification

RIDGID MS1060
88 pages
Print Icon
To Next Page IconTo Next Page
To Next Page IconTo Next Page
To Previous Page IconTo Previous Page
To Previous Page IconTo Previous Page
Loading...
35
Repair Parts
Parts List For RIDGID 10" Compound Miter Saw
Model No. MS10601
RIDGID parts are available on-line at www.ridgidparts.com
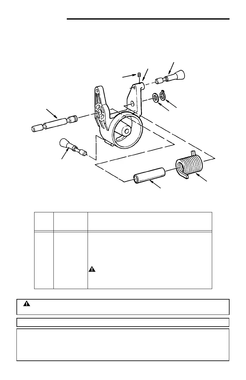
Figure 1 - Pivot Assembly
Always order by Part Number Not by Key Number
* Standard hardware - may be purchased locally
WARNING: These items are important to the safety of this tool. Do
not substitute common parts.
CAUTION: See mechanical assembly caution on page 41.
WARNING: Uncontrolled spring release or misinstallation of these
parts may create a hazard unless repair is done by a qualified ser-
vice technician. Repair service is available from authorized
RIDGID Service Center.
Key
No.
Part No. Description
1
2
3
4
5
6
7
8
803309-2
828504
829727
805606
803899-5
823328
823298-1
823301
Screw Set Hex Soc. Locking 10-32 x 3/8
Pivot
Shaft Stop Asm
Ring Retaining
Washer Thrust
•‡Spring Torsion
Spacer Spring
Shaft Pivot
1
2
3
4
5
6
7
8
3

Table of Contents

Related product manuals