EasyManua.ls Logo

RIDGID MS1060 - Diagrama de Cableado; Guía de Localización y Reparación de Averías; Localización y Reparación de Averías del Freno, sólo por una Persona de Servicio Competente; Motor

RIDGID MS1060
88 pages
Print Icon
To Next Page IconTo Next Page
To Next Page IconTo Next Page
To Previous Page IconTo Previous Page
To Previous Page IconTo Previous Page
Loading...
77
Requisitos básicos de la hoja
10 pulgadas de diámetro
Hojas marcadas para 5,500 RPM o más
Agujero del eje portaherramienta de 5/8 de pul-
gada
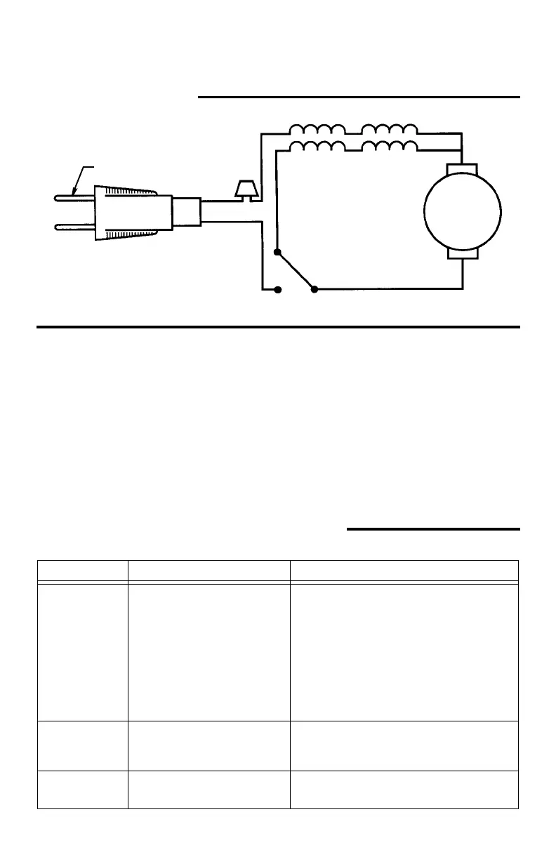
Diagrama de cableado
Localización y reparación de averías del
freno, sólo por una persona de servicio
competente.
1. Compruebe la conmutación sin carga. Si se
producen muchas chispas que siguen la cur-
vatura del conmutador, cambie el inducido.
2. Para continuar la localización y reparación de
averías, desenchufe ahora el cordón de ener-
gía.
3. Instale escobillas nuevas, especialmente si se
ha observado una actuación retardada del
freno antes de la avería.
4. Compruebe la continuidad del circuito del
freno; quite la tapa del motor y las escobillas.
Use un ohmímetro para comprobar la conti-
nuidad de terminal de escobilla a terminal de
escobilla. Si el circuito está abierto, localice el
lugar exacto utilizando el ohmímetro. Según
indique la prueba, apriete la conexión o cam-
bie el ensamblaje del campo o cambie el inte-
rruptor.
5. Después de la reparación, compruebe el sen-
tido de rotación de la hoja en comparación
con la flecha del protector.
Guía de localización y reparación de averías
Motor
Negro
Blanco
Gris
2 N.C.
1 COM
3 N.O.
Bobinado de campo
Bobinado del freno
Negro
Escobilla
Inducido
Azul
Interruptor SPDT
Negro
Hoja ancha
Cordón de energía
Blanco
Tuerca
para
cable
no. 1
Escobilla
no. 2
PROBLEMA CAUSA PROBABLE MEDIDA DE CORRECCION SUGERIDA
El freno no detiene
la hoja al cabo de
6 segundos.
1. Escobillas no asentadas o que
se pegan ligeramente.
2. Bobinado del freno del motor
recalentado debido al uso de
una hoja no recomendada o a
rápidos ciclos de encen-
dido/apagado.
3. Tornillo del eje portaherra-
mienta flojo.
4. Otra.
Inspeccionar/limpiar/cambiar las escobillas (ver
la sección Mantenimiento).
Usar únicamente una hoja recomendada.
Dejar que el motor se enfríe.
Apretarlo.
Obtenga servicio autorizado. Comprobar el
bobinado del freno del motor, el interruptor y el
estado del conmutador.
El motor no
arranca.
1 Fusible.
2. Escobillas desgastadas.
3. Otra.
Fusible de acción retardada o cortacircuito de
15A.
Ver la sección Mantenimiento.
Obtenga servicio autorizado.
La escobilla lanza
chispas cuando se
suelta el interruptor.
1. Normal. El freno automático fun-
ciona adecuadamente.
Ninguna.

Table of Contents

Related product manuals