EasyManua.ls Logo

Rosco RB48 - Page 101

Rosco RB48
174 pages
Print Icon
To Next Page IconTo Next Page
To Next Page IconTo Next Page
To Previous Page IconTo Previous Page
To Previous Page IconTo Previous Page
Loading...
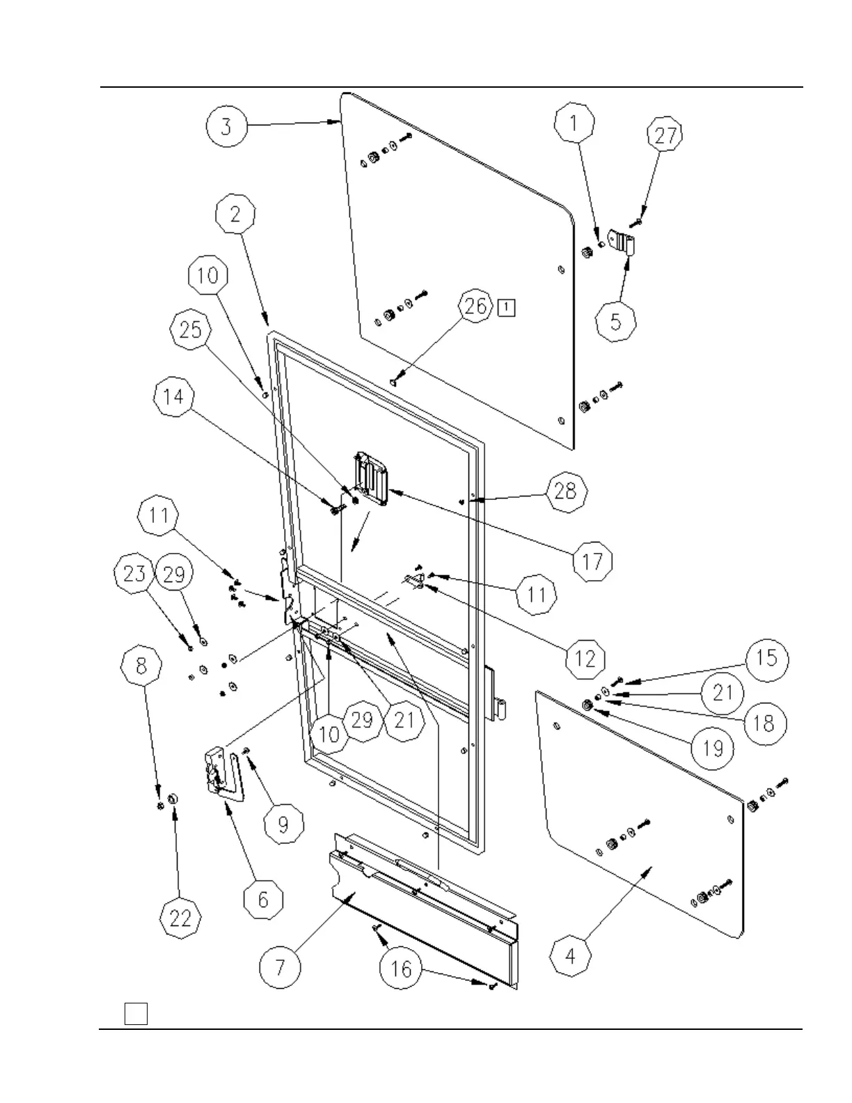
ROSCO - A LeeBoy Company 6. 43 Parts Book
REF.
REV.
RB48 BROOM
36688-41
F
DOOR ASSEMBLY, ENTRANCE, RIGHT SIDE
1 ADHERE ITEM 26 (1.00") TO CENTER OF TOP HORIZONTAL DOOR TUBE

Table of Contents