EasyManua.ls Logo

Rosco RB48 - Page 154

Rosco RB48
174 pages
Print Icon
To Next Page IconTo Next Page
To Next Page IconTo Next Page
To Previous Page IconTo Previous Page
To Previous Page IconTo Previous Page
Loading...
RB48 BROOM
28753
D
REF.
REV.
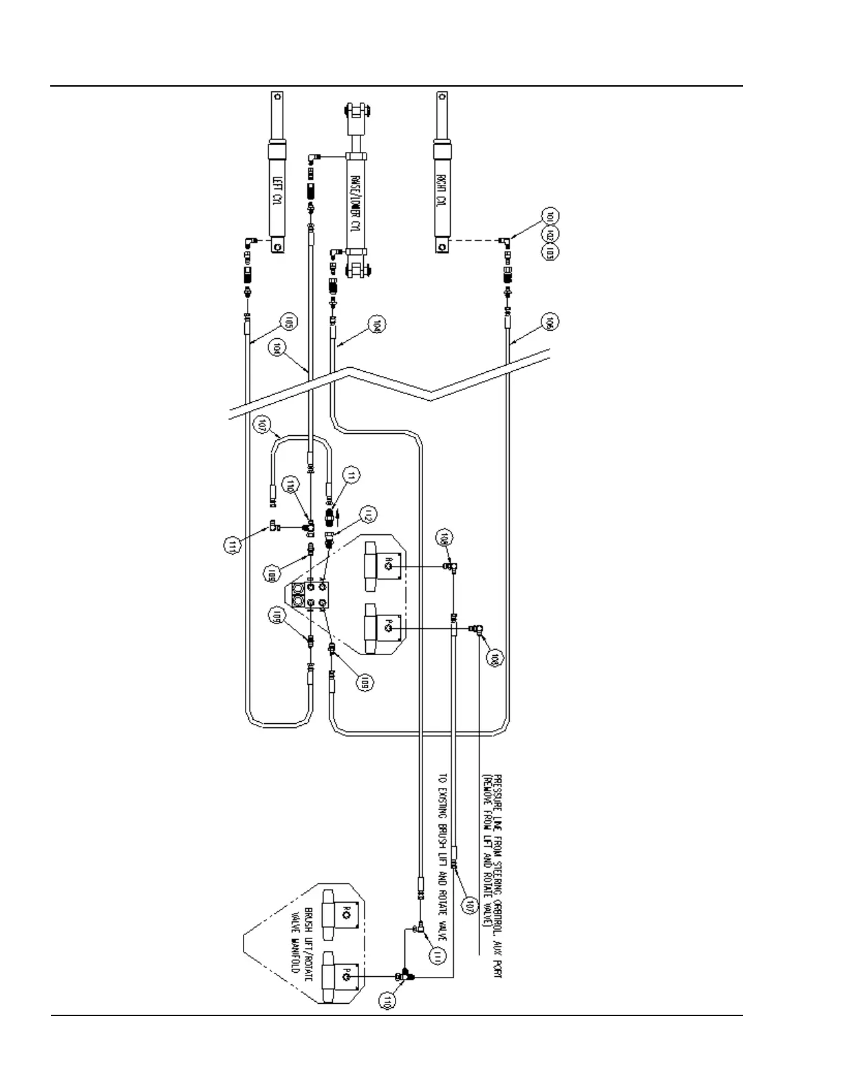
OTHER OPTIONAL EQUIPMENT - STRIKE-OFF BLADE
Parts Book 6. 96 ROSCO - A LeeBoy Company

Table of Contents