EasyManua.ls Logo

Rosco RB48 - Page 158

Rosco RB48
174 pages
Print Icon
To Next Page IconTo Next Page
To Next Page IconTo Next Page
To Previous Page IconTo Previous Page
To Previous Page IconTo Previous Page
Loading...
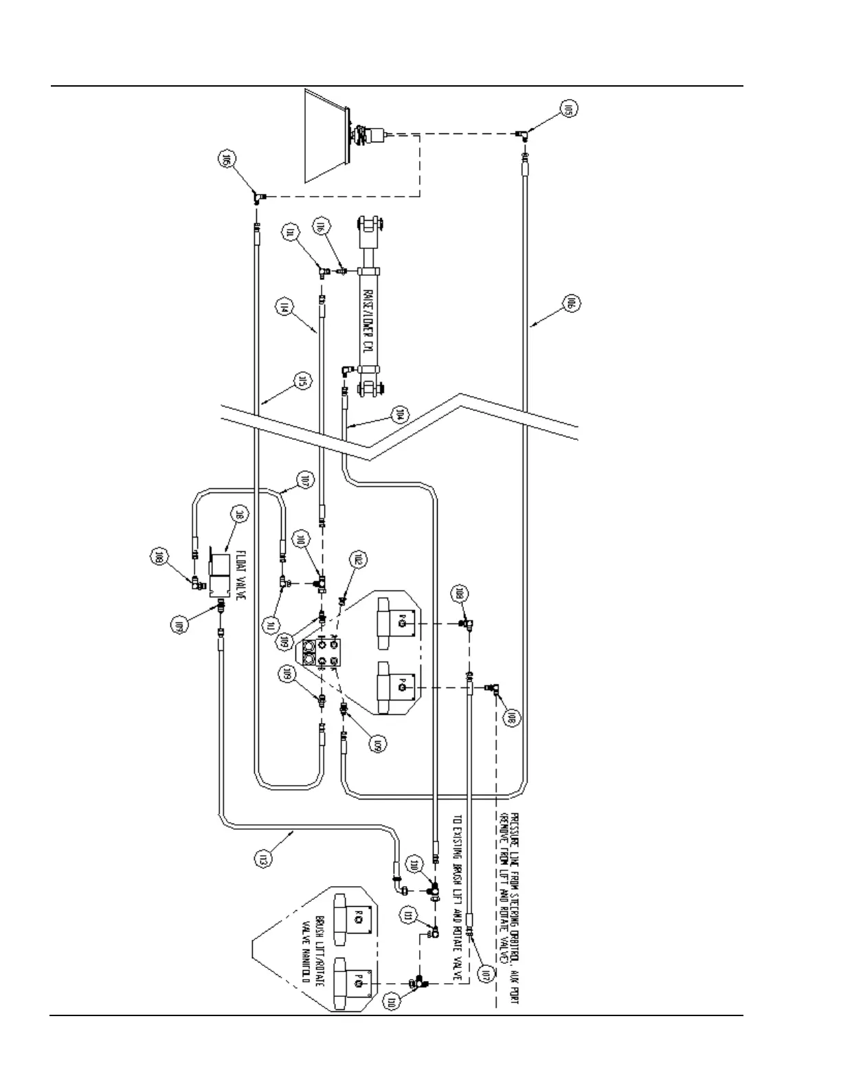
RB48 BROOM
REF.
REV.
29029
A
OTHER OPTIONAL EQUIPMENT - CURB BRUSH
Parts Book 6. 100 ROSCO - A LeeBoy Company

Table of Contents