EasyManua.ls Logo

Saeco Classic - Water System (Office)

Saeco Classic
143 pages
Print Icon
To Next Page IconTo Next Page
To Next Page IconTo Next Page
To Previous Page IconTo Previous Page
To Previous Page IconTo Previous Page
Loading...
ROYAL 4. FUNCTION/TIMING
Saeco International Group REV.4 SEPT.2003 Page 11/22
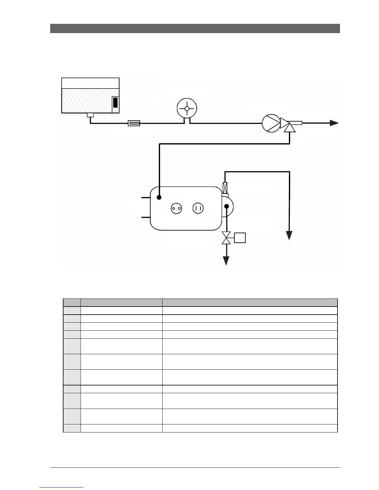
1.7. Water system (Office)
Component
Function
1 Water tank
Water supply
2 Float
Water level monitoring
3 Water filter
Water cleaned of solid matter
4 Flow meter (turbine)
Measure flow rate
5 Pump
Water flow/Pressure build-up
(13 to15 bar)
6 Safety valve
Protect instantaneous water heater against overpressure
(opens at 17 bar)
7 Instantaneous water
heater/Heating
Heats water to approx. 94°C (for brewing process)
8 Sensor (KTY)
Transmits current temperature value to electronic system
9 Thermostat
Alternates current supply for heating system in event of
overheating.
10 Valve plug
Opens when brewing unit is aligned with water circuit to the
unit itself.
11 Magnet valve (water)
Solenoid valve for water dispensing
1 Water tank
2 Float
3 Water filter
4 Flow meter
5 Pump
6 Safety valve
10 Boiler pin
9 Thermostat
170°C
8 Sensor
7 Instantenous
water heater
11 Magnet valve
(water)
To Brewing unit
Heating
1090W

Table of Contents

Related product manuals