EasyManua.ls Logo

Saeco Classic - CPU - INPUT (Royal Digital; Exclusive)

Saeco Classic
143 pages
Print Icon
To Next Page IconTo Next Page
To Next Page IconTo Next Page
To Previous Page IconTo Previous Page
To Previous Page IconTo Previous Page
Loading...
ROYAL 4. FUNCTION/TIMING
Saeco International Group REV.4 SEPT.2003 Page 13/22
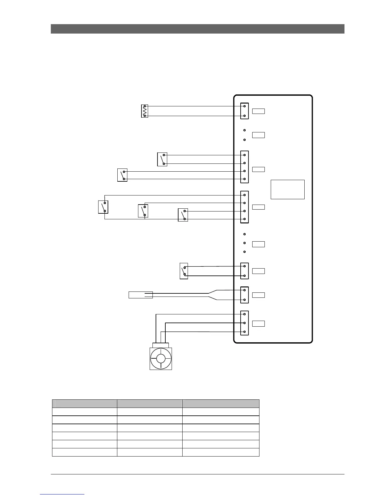
2.2.1. CPU – INPUT (Royal Digital / Exclusive)
Component
Voltage
Comments
Microswitch MS1
15/5V = Gears in home position
Microswitch MS2
15/5V = Gears in brewing position
Microswitch MS3
15/5V = Brewing unit
Microswitch MS4
15/5V = Doser
Microswitch MS5
15/5V = HWS valve
Microswitch MS6
15/5V = Dregs drawer
JP8
JP1
JP2
JP3
JP4
JP5
MS1-
Getriebe
schalter
MS2-
Getriebe
schalter
Dosier
schalter
HWD-
schalter
Flow-
meter
Temp.
Sensor
MS
Brüh-
gruppe
MS Satz-
schublade
CPU
JP9
JP6
Wasserstands
anzeige
Thermo
sensor
MS2
Gear
switch
brew pos.
Doser
switch
Hot water/
Steam switch
MS brew
unit
MS dregs
drawer
Flow
meter
Reed switch
Water level
MS1
Gear
switch
home pos.

Table of Contents

Related product manuals