EasyManua.ls Logo

Sanwa SP21 - 6−5 直流電流 (Dca; DCA Measurement

Sanwa SP21
52 pages
Print Icon
To Next Page IconTo Next Page
To Next Page IconTo Next Page
To Previous Page IconTo Previous Page
To Previous Page IconTo Previous Page
Loading...

DRAWING No SP21 18-1805 2040 2040
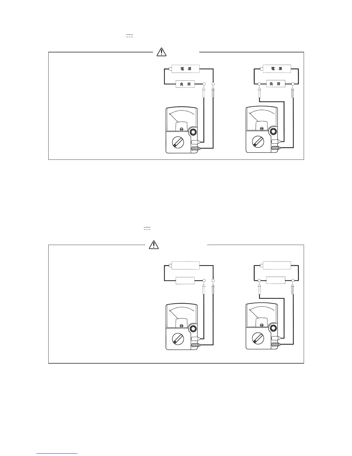
6-5 直流電流(DCA )測定 最大測定電流0.3 A









警 告




6-5 
DCA Measurement( )Maximum rating input value
0.3 ADC
1. Never apply voltage to
the input terminals.
2. Be sure to make a
series connection via
load.Please see to
above drawing
3.
Do not apply an input
exceeding the maximam
rated current to the input
terminals.
WARNING
 1Applications
   Current in batteries and DC circuit is measured.
 2Measuring ranges
   60 μ/30 m/0.3 A3ranges
Powre
Powre
Load
Load





Table of Contents

Related product manuals