EasyManua.ls Logo

Sanyo PLC-SU20E - Page 52

Sanyo PLC-SU20E
100 pages
Print Icon
To Next Page IconTo Next Page
To Next Page IconTo Next Page
To Previous Page IconTo Previous Page
To Previous Page IconTo Previous Page
Loading...
-52-
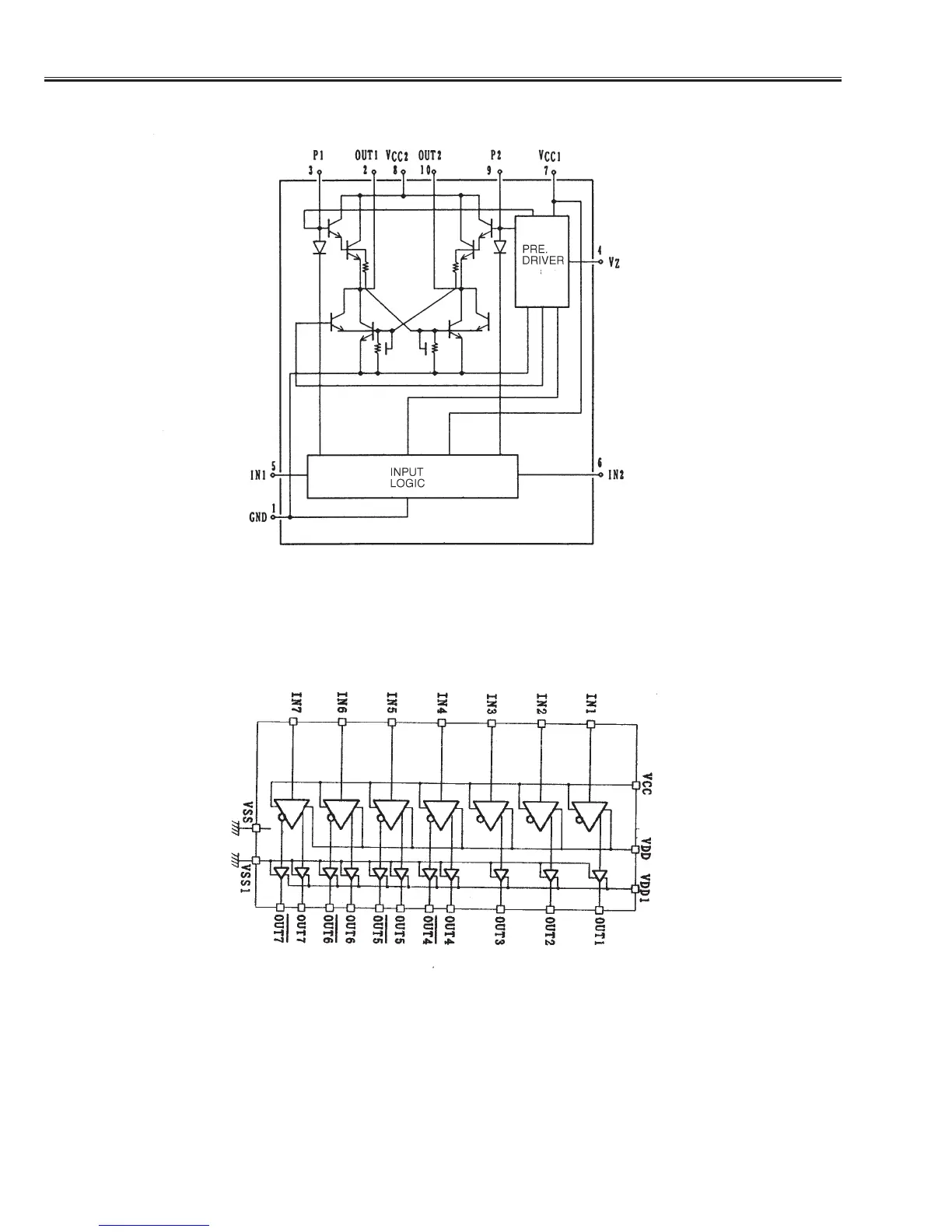
IC Block Diagrams
LB1641<Motor Drive, IC5501, IC5551>
LC4105V <Buffer, IC3501, IC3521, IC3541>

Related product manuals