EasyManua.ls Logo

Sanyo PLC-SU20E - Page 56

Sanyo PLC-SU20E
100 pages
Print Icon
To Next Page IconTo Next Page
To Next Page IconTo Next Page
To Previous Page IconTo Previous Page
To Previous Page IconTo Previous Page
Loading...
-56-
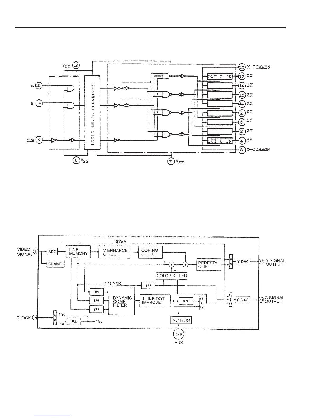
TC9090AF <3-Line Y/C Separator, IC2101>
TC4053BP <Switching, IC101, IC3001, IC3002, IC3571, IC5001, IC5282,
IC6101,IC6151>
IC Block Diagrams

Related product manuals