EasyManua.ls Logo

Schlage GF3000 - Template Information (TJ); Template Information (SM)

Schlage GF3000
20 pages
Print Icon
To Next Page IconTo Next Page
To Next Page IconTo Next Page
To Previous Page IconTo Previous Page
To Previous Page IconTo Previous Page
Loading...
GF3000 SERIES INSTALLATION MANUAL
Installing a GF3000 Series Lock
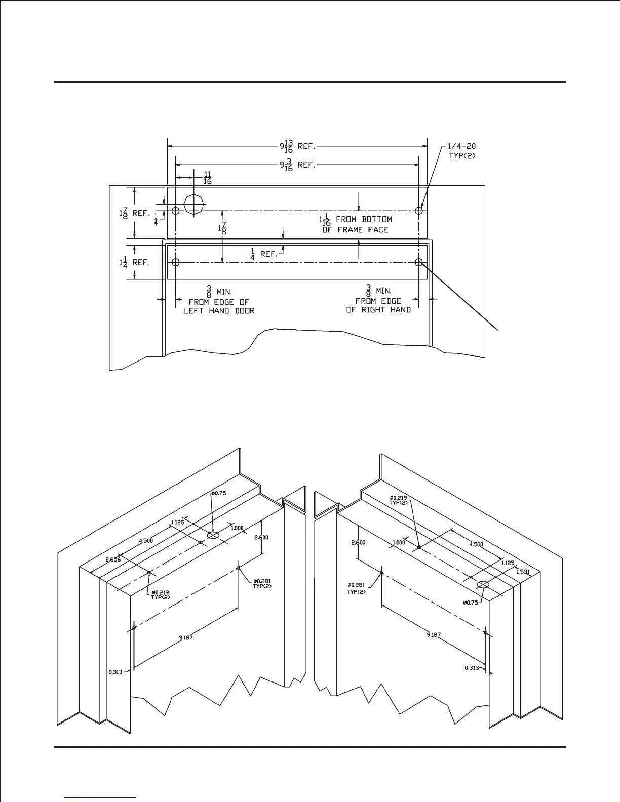
5) Template information (TJ):
All dimensions in inches.
6) Template information (SM):
All dimensions in inches.
a
NOTE: Hole (a) - size and type depends on door type and mounting style.
LEFT HAND
REVERSE
RIGHT HAND
REVERSE
Page 12

Other manuals for Schlage GF3000

Related product manuals