EasyManua.ls Logo

Schlage GF3000 - Installing the Lock - Standard, TRD, TJ, SM; Mounting Tabs (Standard, TRD); Surface Mount Armature Housing Sex Bolt Hole Sizes (TJ, SM)

Schlage GF3000
20 pages
Print Icon
To Next Page IconTo Next Page
To Next Page IconTo Next Page
To Previous Page IconTo Previous Page
To Previous Page IconTo Previous Page
Loading...
GF3000 SERIES INSTALLATION MANUAL
Installing a GF3000 Series Lock
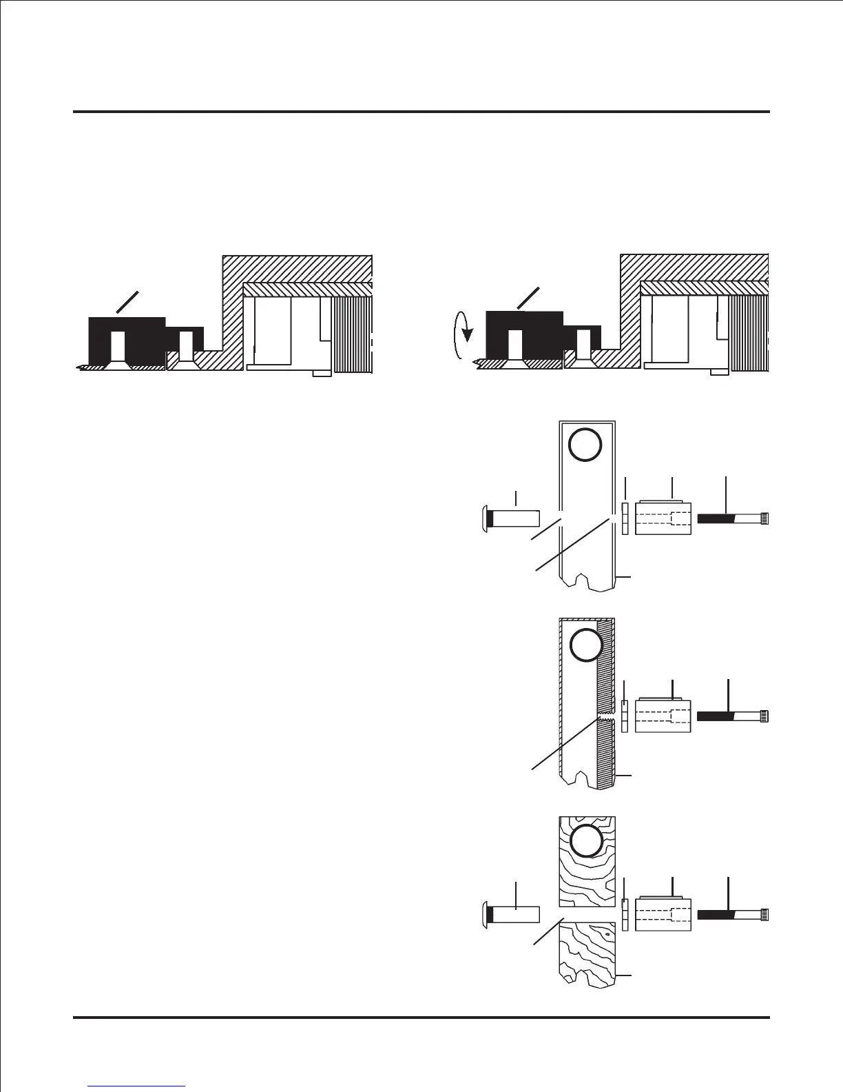
Installing the Lock - Standard, TRD, TJ, SM
1) Mounting Tabs (Standard, TRD):
2) Surface Mount Armature Housing Sex Bolt Hole Sizes (TJ, SM):
Secure two mounting tabs (a) to ends of lock cutout in frame. Mounting tabs can be installed upside-
down (
b hollow metal or 1/8” thick aluminum frames.
a
a
b
Door Types:
A = Hollow Metal
B = Reinforced
C = Solid Wood
Hole Sizes and Parts:
a = sex bolt
b = 1/2” hole
c = 1/4” hole
d = mounting spacer
e = armature
f = 1/4-20 x 2
g = inside of door
h = 1/4-20 threaded hole (thru reinforced side
of door only)
a
d
a
b
b
c
d
d
e
e
e
f
f
f
g
g
g
A
B
C
h
Page 8
) so that they may be used with 16 gauge

Other manuals for Schlage GF3000

Related product manuals