EasyManua.ls Logo

Schmid Watson - SNMP Configuration; The Entity MIB; Figure 8-2: Default Context and Card Contexts

Schmid Watson
134 pages
Print Icon
To Next Page IconTo Next Page
To Next Page IconTo Next Page
To Previous Page IconTo Previous Page
To Previous Page IconTo Previous Page
Loading...
Watson-Ethernet-Manual.doc
Version 3.3-01
Watson Ethernet
Operating Manual
Revision: 2010-01-20
8-3
PUBLIC
PRIVATE
PUBLIC@slotnn
PRIVATE@slotnn
PUBLIC@slot1
PRIVATE@slot1
PUBLIC@slot2
PRIVATE@slot2
PUBLIC@slot12
PRIVATE@slot12
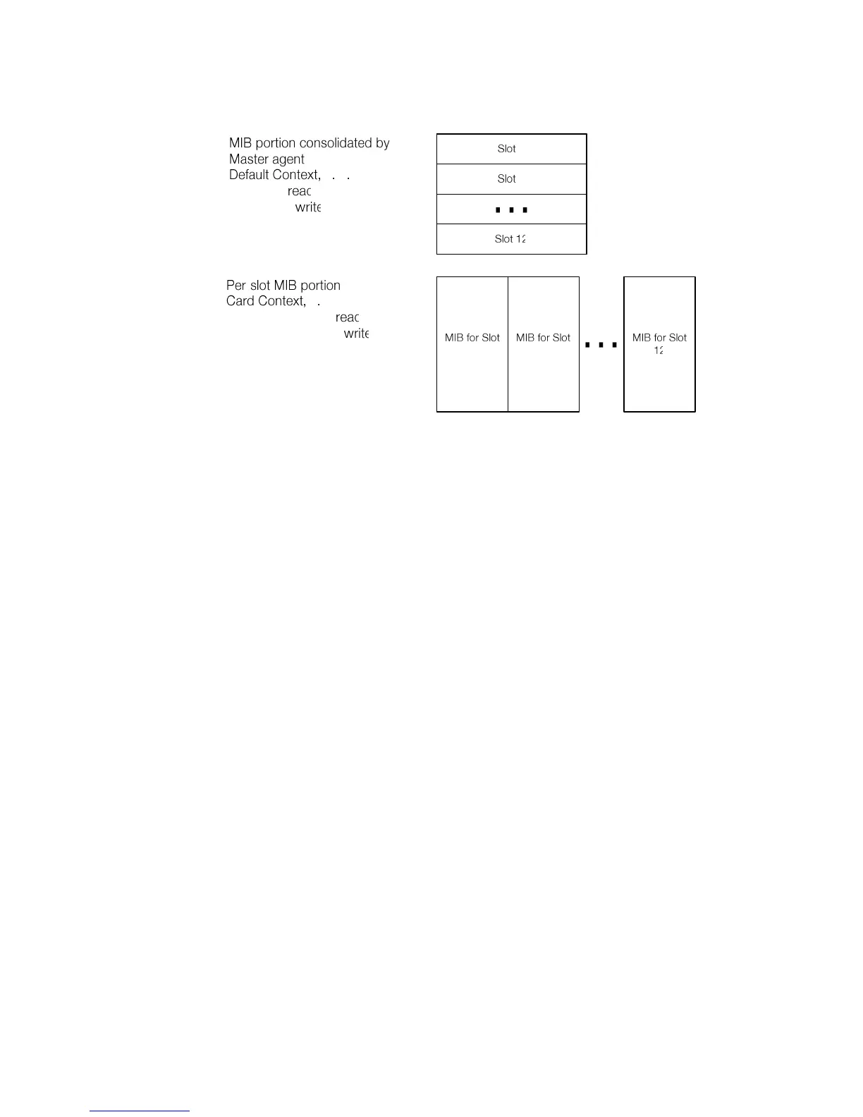
Figure 8-2: Default Context and Card Contexts
Note that for convenience some SNMP variables are accessible both under the
Default Context and under the Card Context.
All Card Contexts are listed in the vacmContextTable of the SNMP-VIEW-
BASED-ACM-MIB.
8.1.3 SNMP Configuration
IP addresses and master agent behavior must be configured as follows:
1) One plug-in in the subrack must be designated as master agent functions
(Monitor command MASTERAGENT ON). This plug-in communicates with the
management system. Note that configuring more than one master agent in
one subrack will disrupt all communication between master agents and sub-
agents.
2) The MASTERIP address of the master agent plug-in must be configured to
the MGMT2 address of this (i. e. the master agent) plug-in.
3) The master agent function must be disabled on all other plug-ins in the sub-
rack (Monitor command MASTERAGENT OFF).
4) The MASTERIP address of all other plug-ins must be configured to the
MGMT2 address of the master agent plug-in.
8.1.4 The Entity MIB
A subrack is modeled in the Default Context with the Entity MIB (cf. 8.2.4) that
describes the relation between subrack, plug-ins and interfaces. The entPhysi-
calTable, entLogicalTable and the entAliasMappingTable are used.
A subrack is represented by a single row in the entPhysicalTable with an
entPhysicalClass of chassis.
Every slot in the subrack is represented by a row of the entPhysicalTable
with an entPhysicalClass value container.

Table of Contents

Other manuals for Schmid Watson

Related product manuals