EasyManua.ls Logo

SCHUNK OSE - Ose 45

SCHUNK OSE
56 pages
Print Icon
To Next Page IconTo Next Page
To Next Page IconTo Next Page
To Previous Page IconTo Previous Page
To Previous Page IconTo Previous Page
Loading...
Maintenance
42 03.00 | OSE | Assembly and Operating Manual | en | 1373804
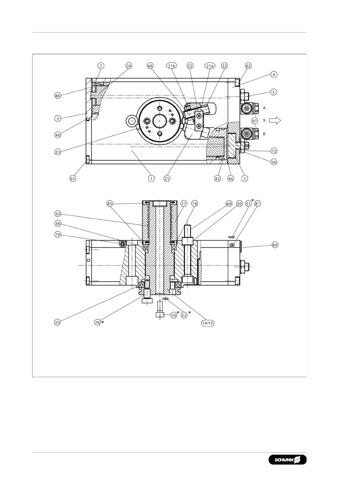
5.6.2 OSE 22-40
Unit A
* Contained in accessory pack.

Related product manuals