EasyManua.ls Logo

SCHUNK OSE - Ose 63

SCHUNK OSE
56 pages
Print Icon
To Next Page IconTo Next Page
To Next Page IconTo Next Page
To Previous Page IconTo Previous Page
To Previous Page IconTo Previous Page
Loading...
Maintenance
46 03.00 | OSE | Assembly and Operating Manual | en | 1373804
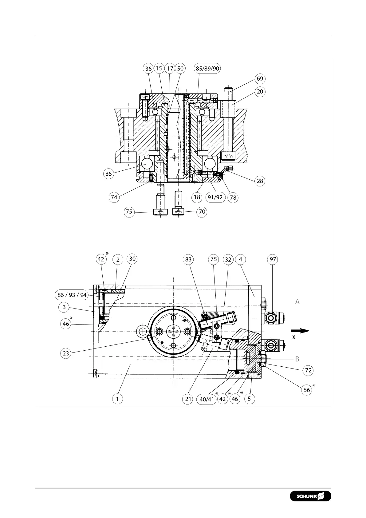
5.6.4 OSE 57
Variant A
* Wearing part, replace during maintenance.
Included in the seal kit. Seal kit can only be ordered completely.

Related product manuals