EasyManua.ls Logo

SCHUNK OSE - Ose 57

SCHUNK OSE
56 pages
Print Icon
To Next Page IconTo Next Page
To Next Page IconTo Next Page
To Previous Page IconTo Previous Page
To Previous Page IconTo Previous Page
Loading...
Maintenance
44 03.00 | OSE | Assembly and Operating Manual | en | 1373804
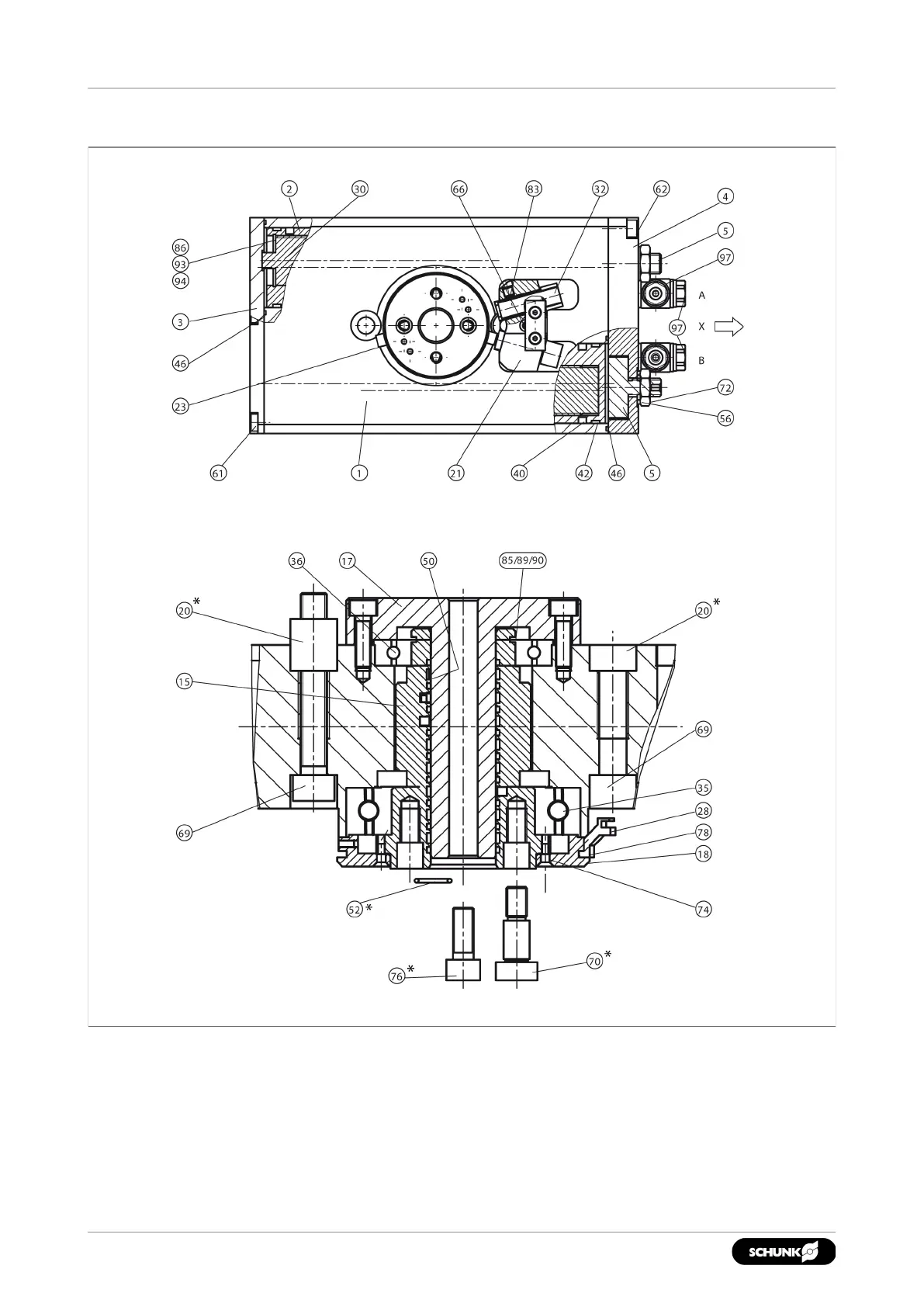
5.6.3 OSE 45
Unit A
* Contained in accessory pack.

Related product manuals