EasyManua.ls Logo

SCHUNK OSE - Page 48

SCHUNK OSE
56 pages
Print Icon
To Next Page IconTo Next Page
To Next Page IconTo Next Page
To Previous Page IconTo Previous Page
To Previous Page IconTo Previous Page
Loading...
Maintenance
48 03.00 | OSE | Assembly and Operating Manual | en | 1373804
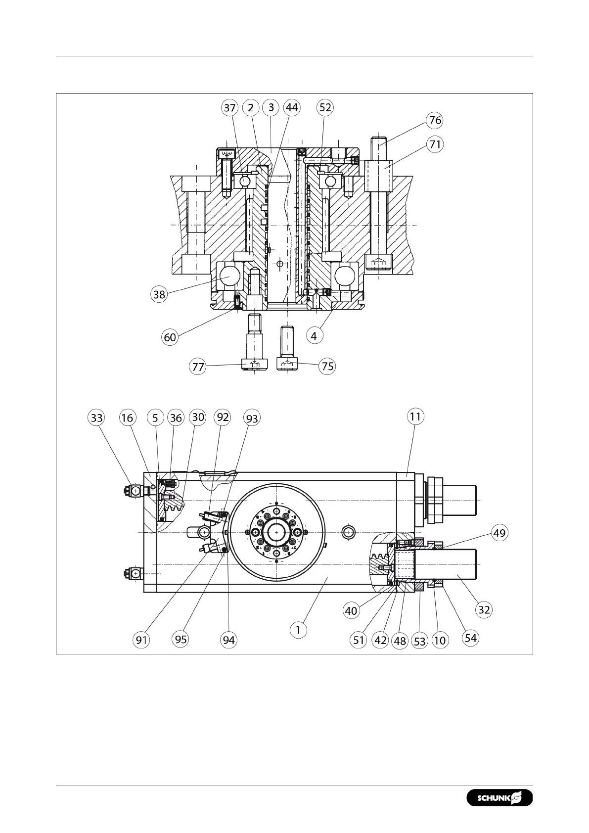
5.6.5 OSE 63
OSE 63

Related product manuals