EasyManua.ls Logo

Sharp XE-A107 - Making Basic Sales Entries

Sharp XE-A107
36 pages
Print Icon
To Next Page IconTo Next Page
To Next Page IconTo Next Page
To Previous Page IconTo Previous Page
To Previous Page IconTo Previous Page
Loading...

In this section, the basic sales entry method using department key with simple correction (void)
method is explained. For more information such as PLU entries, VAT(tax) entries and entries using
function keys, please refer to “Utilizing Various Features for Sales Entries” section on page 13.
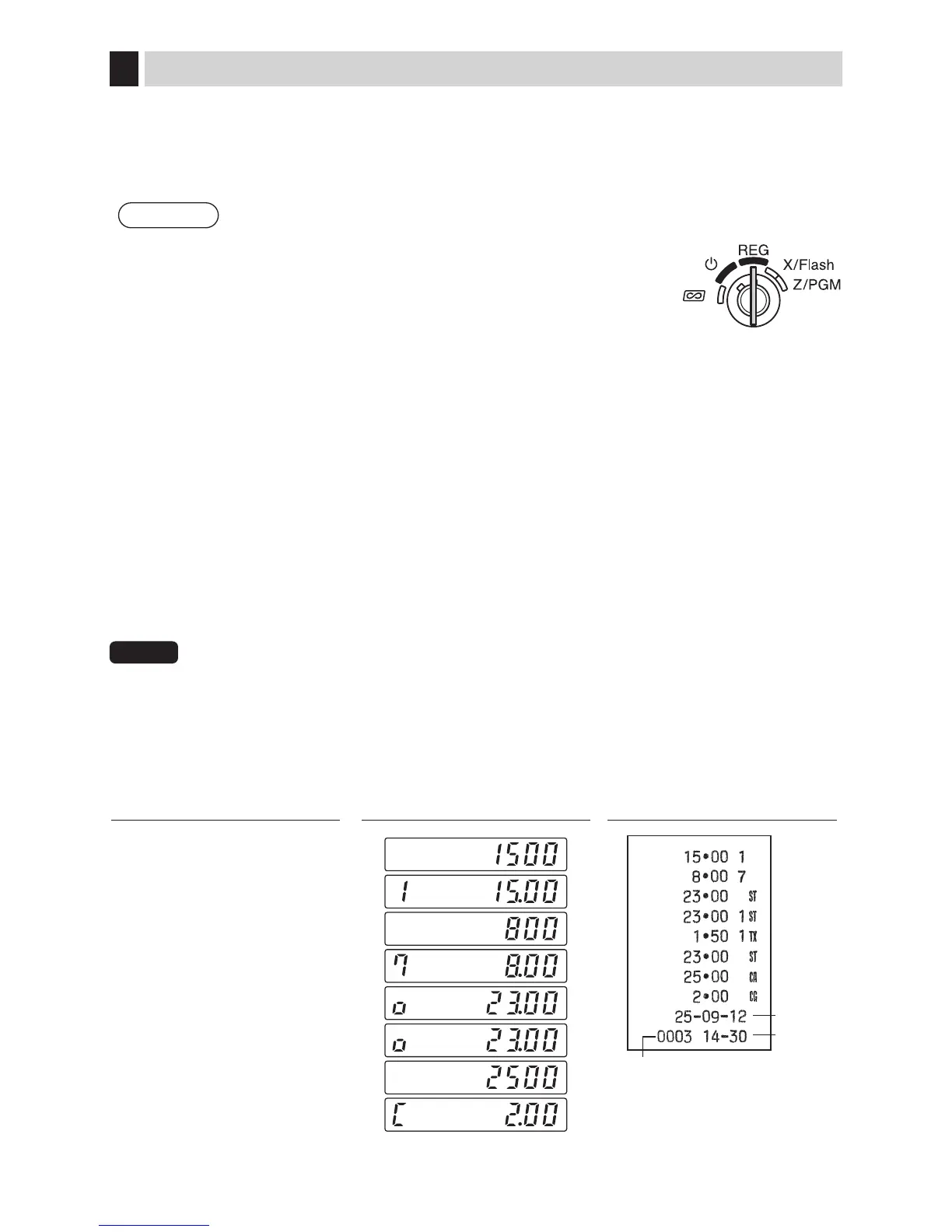
Example
Selling a 15.00 item (dept. 1) and an 8.00 item (dept. 7) for cash and receiving
25.00 from your customer. (tax system: manual VAT1-4)
1. Set the mode switch to the REG position.
2. Enter the price for the department item (in case of 15.00).
3. Press the appropriate department key. (in case of department 1)
4. Enter the price for the department item (in case of 8.00).
5. Press the appropriate department key. (in case of department 7)
For department 5 to department 8, press
H
before pressing the department key.
Repeat steps 4 and 5 for all the department items.
6. Press
u
to display the amount due. (In case you do not print the tax amount in step 7, you can
omit this step.)
7. Press
U
to print the tax amount in case your tax system is manual VAT1-4 system (default
setting). (You can omit this step.)
8. Enter the amount received from the customer. (You can omit this step if the amount tendered is
the same as the subtotal.)
9. Press
A
, and the change due is displayed and the drawer is opened.
10. Tear off the receipt and give it to the customer (in case you programmed receipt printing) with
his or her change displayed.
11. Close the drawer.
NOTE
•Whenpaidbycheque,press
C
insteadof
A
.
•Whenpaidbycredit,omitthestep8andpresscinsteadofA.
•Ifyoupresetunitpricestodepartments,youcanomitenteringtheunitpriceofthe
departmentitem,thatis,omitthestep2and4shownabove.Fortheprogramming,refer
tothe“DepartmentPresetUnitPriceProgramming”sectiononpage23.
•Fordetailsonthecorrections,pleasereferto“Corrections”sectiononpage18.



15:
!
8:
H#
u
U
25:
A
Date
Time
Consecutive No.

Table of Contents

Other manuals for Sharp XE-A107

Related product manuals