EasyManua.ls Logo

Shibaura CM284 - 2. Transmission Unit

Shibaura CM284
219 pages
Print Icon
To Next Page IconTo Next Page
To Next Page IconTo Next Page
To Previous Page IconTo Previous Page
To Previous Page IconTo Previous Page
Loading...
87
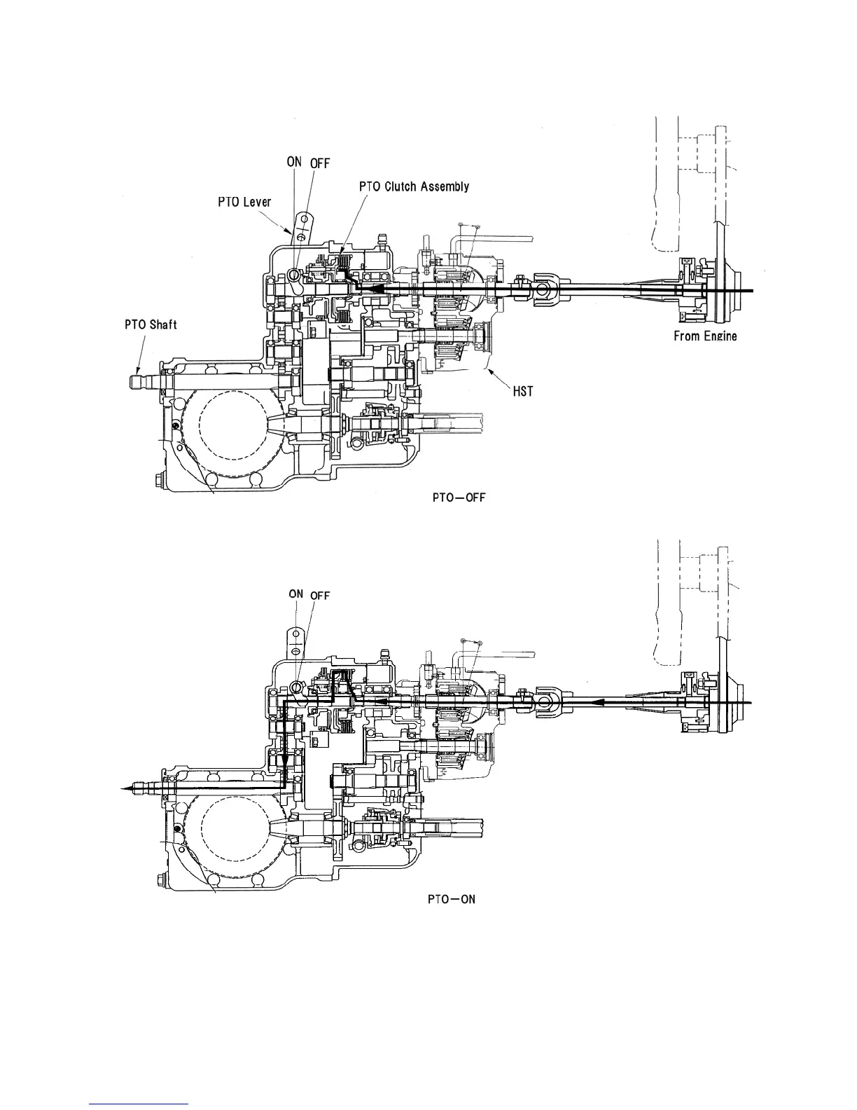
5) Power Flow (PTO)
306X
307X

Table of Contents

Other manuals for Shibaura CM284

Related product manuals