EasyManua.ls Logo

Siemens 3TK28 - Page 181

Siemens 3TK28
206 pages
Print Icon
To Next Page IconTo Next Page
To Next Page IconTo Next Page
To Previous Page IconTo Previous Page
To Previous Page IconTo Previous Page
Loading...
Description of the individual safety relays
3.8 3TK28 safety relays with contactor relay enabling circuits
3TK28 safety relays
Manual, 07/2016, NEB926157502000/RS-AB/003
181
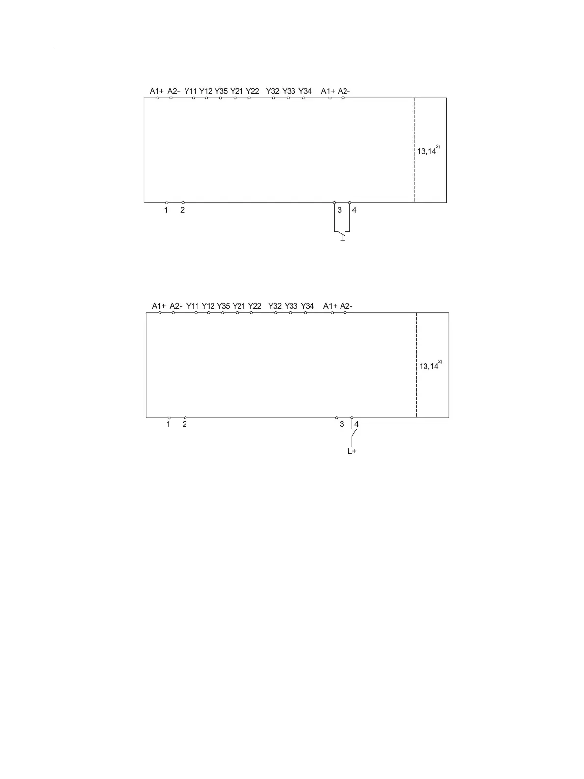
Figure 3-94 with isolated contact, functionally operated
Figure 3-95 with non-isolated contact, functionally operated

Table of Contents

Related product manuals