EasyManua.ls Logo

Siemens 6RA8085-6DS22

Siemens 6RA8085-6DS22
758 pages
To Next Page IconTo Next Page
To Next Page IconTo Next Page
To Previous Page IconTo Previous Page
To Previous Page IconTo Previous Page
Loading...
Descriptions of functions
10.3 Communication according to PROFIdrive
SINAMICS DCM DC Converter
426 Operating Instructions, 12/2018, A5E34763375A
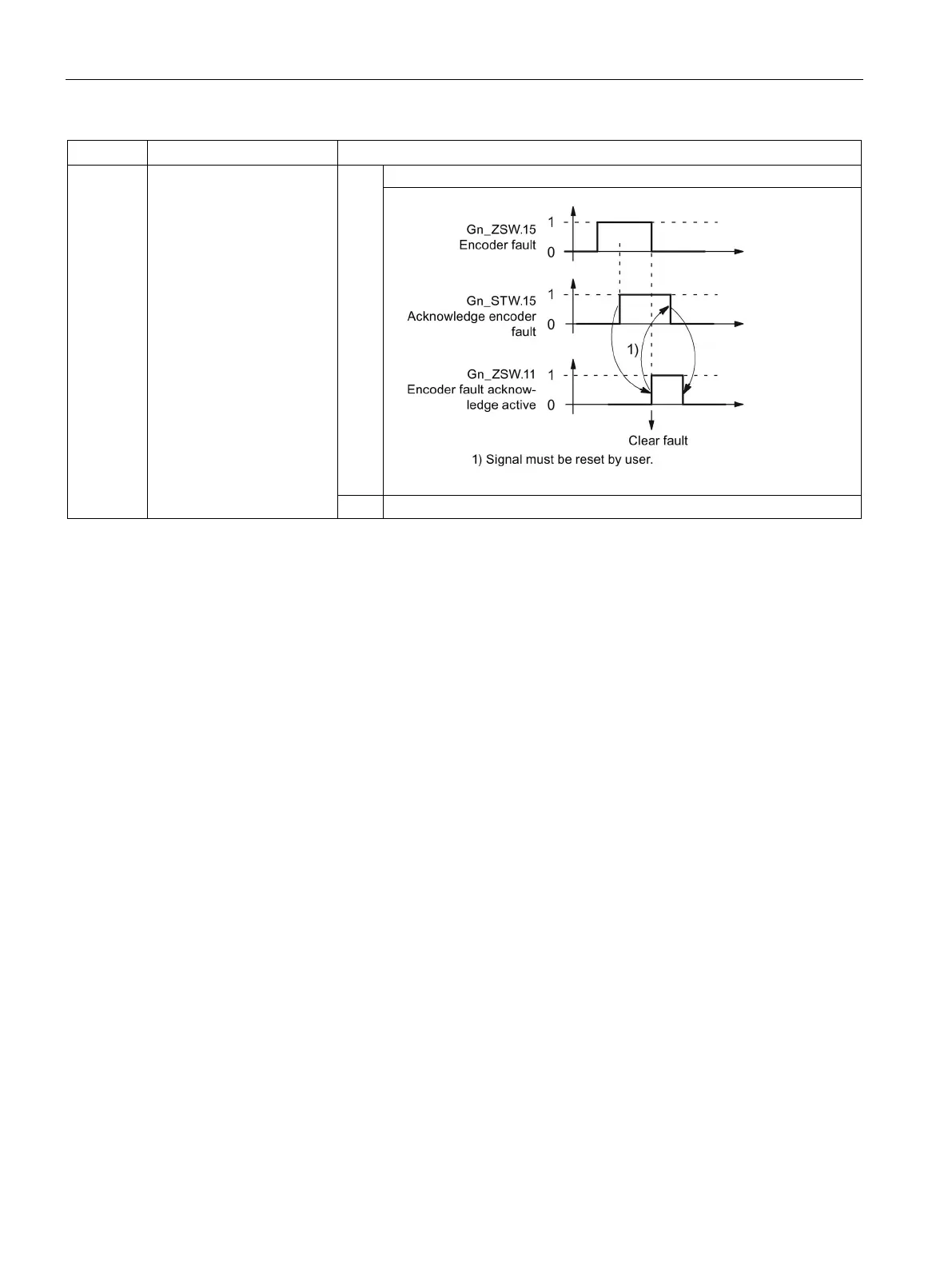
Bit
Name
Signal status, description
15 Acknowledge encoder error 0/1
Request to reset encoder errors
0
No request
Example: Reference mark search
Assumptions for the example:
Distance-coded reference mark
Two reference marks (function 1/function 2)
Position control with encoder 1

Table of Contents

Related product manuals