EasyManua.ls Logo

Siemens 6RA8085-6DS22

Siemens 6RA8085-6DS22
758 pages
To Next Page IconTo Next Page
To Next Page IconTo Next Page
To Previous Page IconTo Previous Page
To Previous Page IconTo Previous Page
Loading...
Descriptions of functions
10.10 Switch on, switch off, enable
SINAMICS DCM DC Converter
552 Operating Instructions, 12/2018, A5E34763375A
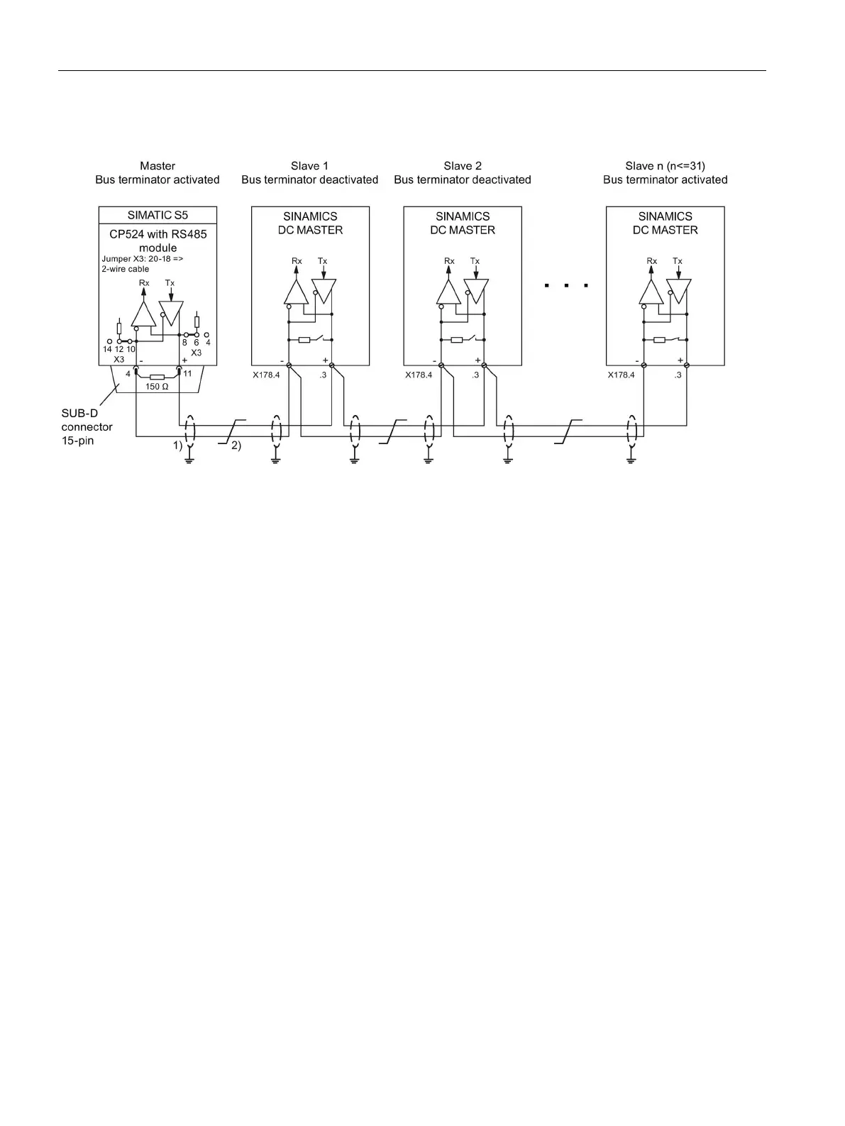
Wiring example for a USS bus
1) The shields for the interface cables must be connected directly on the devices (using a clamp, for example) to
device or cabinet ground, with a low level of impedance.
2) Twisted cable, e.g. LIYCY 2×0.5 mm
2
; with longer cables, an equipotential bonding cable should be used to ensure
that the difference in ground potentials between the link partners remains below 7 V.
Figure 10-57 USS bus
10.10
Switch on, switch off, enable
10.10.1
Switch on/Switch off (ON/OFF1) – Control word bit 0
The "Switch on/Shutdown" (ON/OFF1) function is controlled using the "ON/OFF1 switch-on
command" (= ANDing the signal from terminal X177.12 with the signal selected using
p0840).
The following operating modes are possible here:
p50445 = 0:
The
"ON/OFF1 switch-on command" takes the form of ANDing the signal
from
terminal X177.12 with the signal selected using p0840 (level-controlled,
0 = shutdown, 1 = switch on).
p50445 = 1:
Edge triggering of
"ON/OFF1 switch-on command":
The switch
-on command is saved when a 0 → 1 transition takes place
(see
function diagram 3130 in the SINAMICS DCM List Manual). The binector
s
elected using p50444 must be in the log. "1" state at this point. The memory
is reset when this binector enters the log. "0" state.

Table of Contents

Related product manuals